GM Service Manual Online
For 1990-2009 cars only
Makes
🢒
Chevrolet
🢒
2000
🢒
Chevy C Pickup - 2WD
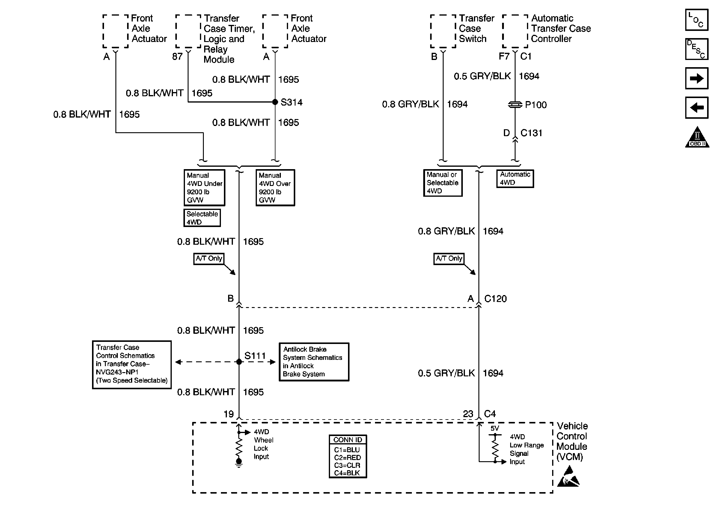
🢒 Transfer Case Circuits
Transfer Case Circuits
Transfer Case Circuits
Engine Controls Components
A/T Controls-Shift Solenoids, TCC/Stoplamp Switch
EVAP and EGR Controls, Fuel Tank Pressure Sensor
OBD II Symbol Description Notice
Handling ESD Sensitive Parts Notice
Front Axle Actuator Circuits
Indicator Control and Wheel Speed Sensors