GM Service Manual Online
For 1990-2009 cars only
Makes
🢒
Chevrolet
🢒
2000
🢒
Chevy C Pickup - 2WD
🢒 A/T Controls-Shift Solenoids, TCC/Stoplamp Switch
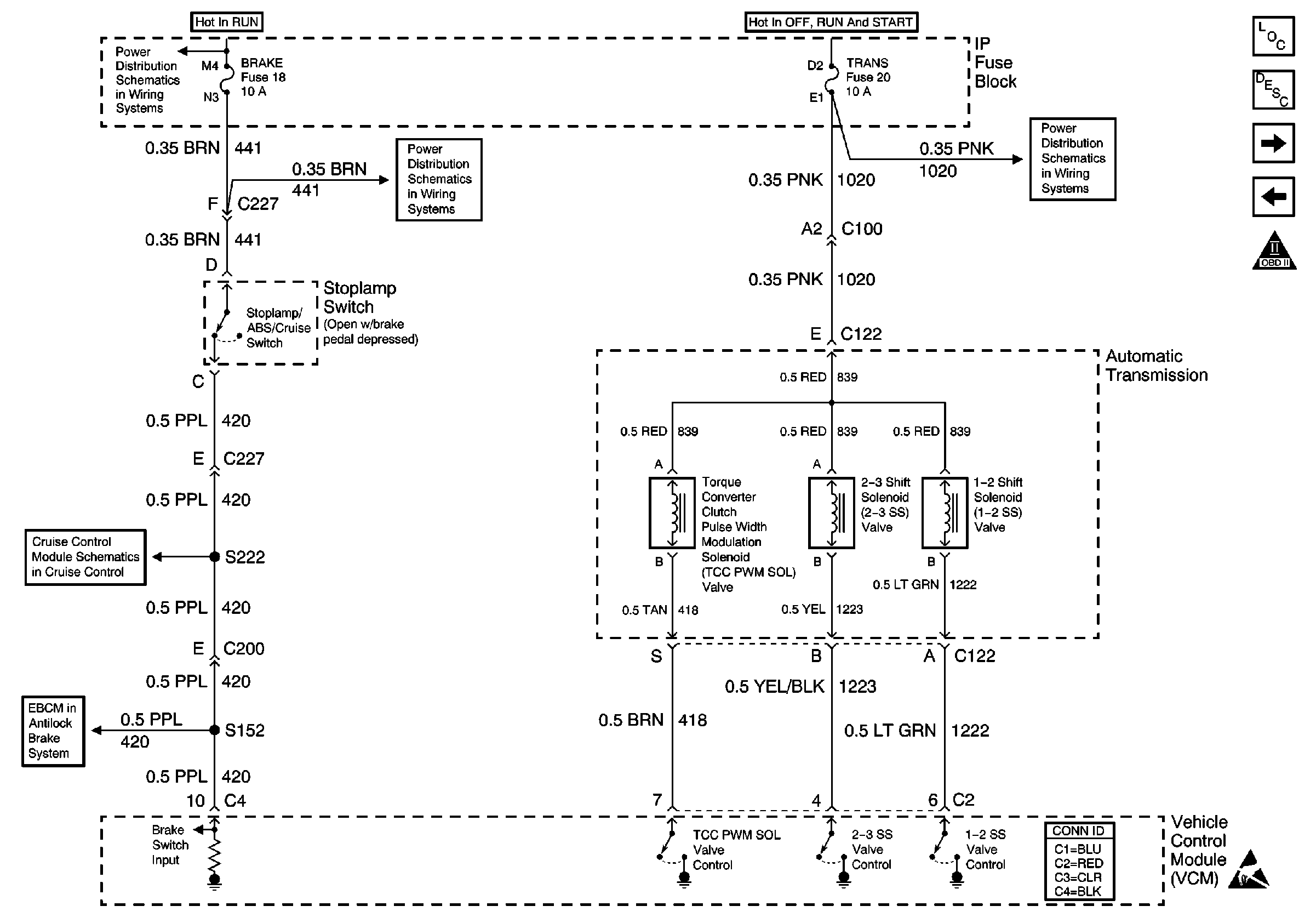
A/T Controls-Shift Solenoids, TCC/Stoplamp Switch
A/T Controls--Shift Solenoids, TCC/Stoplamp Switch
Engine Controls Components
Electronic Component Description
A/T Controls-Internal Switches. TFT, PC Solenoid Valve, and TISS
Transfer Case Circuits
OBD II Symbol Description Notice
IGN B Fuse and Ignition Switch
BRAKE and HTR-A/C Fuses
AIR BAG, TURN B/U, CRANK, and TRANS Fuses
VCM and Clutch Pedal Position Switch (Gas Engine)
VSS, TCC Signal and Brake Indicator (Gas)
IGN A Fuse and Ignition Switch
Handling ESD Sensitive Parts Notice