GM Service Manual Online
For 1990-2009 cars only
Makes
🢒
Chevrolet
🢒
2000
🢒
Chevy C Pickup - 2WD
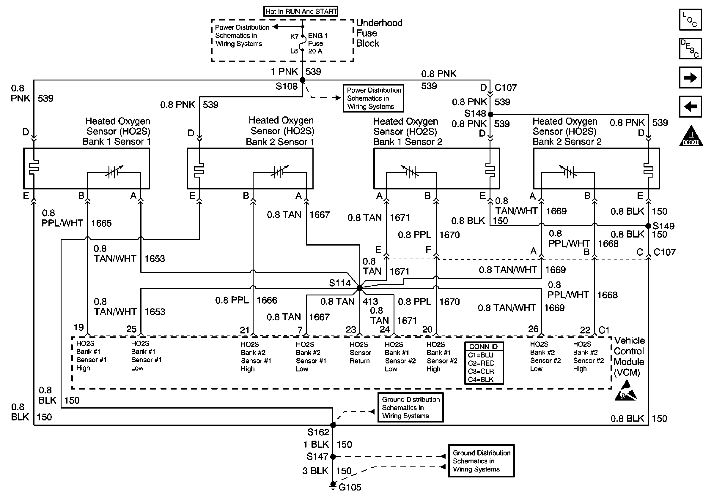
🢒 Heated Oxygen Sensors, California Emissions (NB6)
Heated Oxygen Sensors, California Emissions (NB6)
Heated Oxygen Sensors, California Emissions (NB6)
Engine Controls Components
Information Sensors/Switches Description
A.I.R., IAC, and MAF Controls
Heated Oxygen Sensors, Federal Emissions (NF2)
OBD II Symbol Description Notice
Cell 10: ENG-1 Fuse
G105 (2 of 2)
G105 (1 of 2)