GM Service Manual Online
For 1990-2009 cars only
Makes
🢒
Chevrolet
🢒
2000
🢒
Chevy C Silverado - 2WD
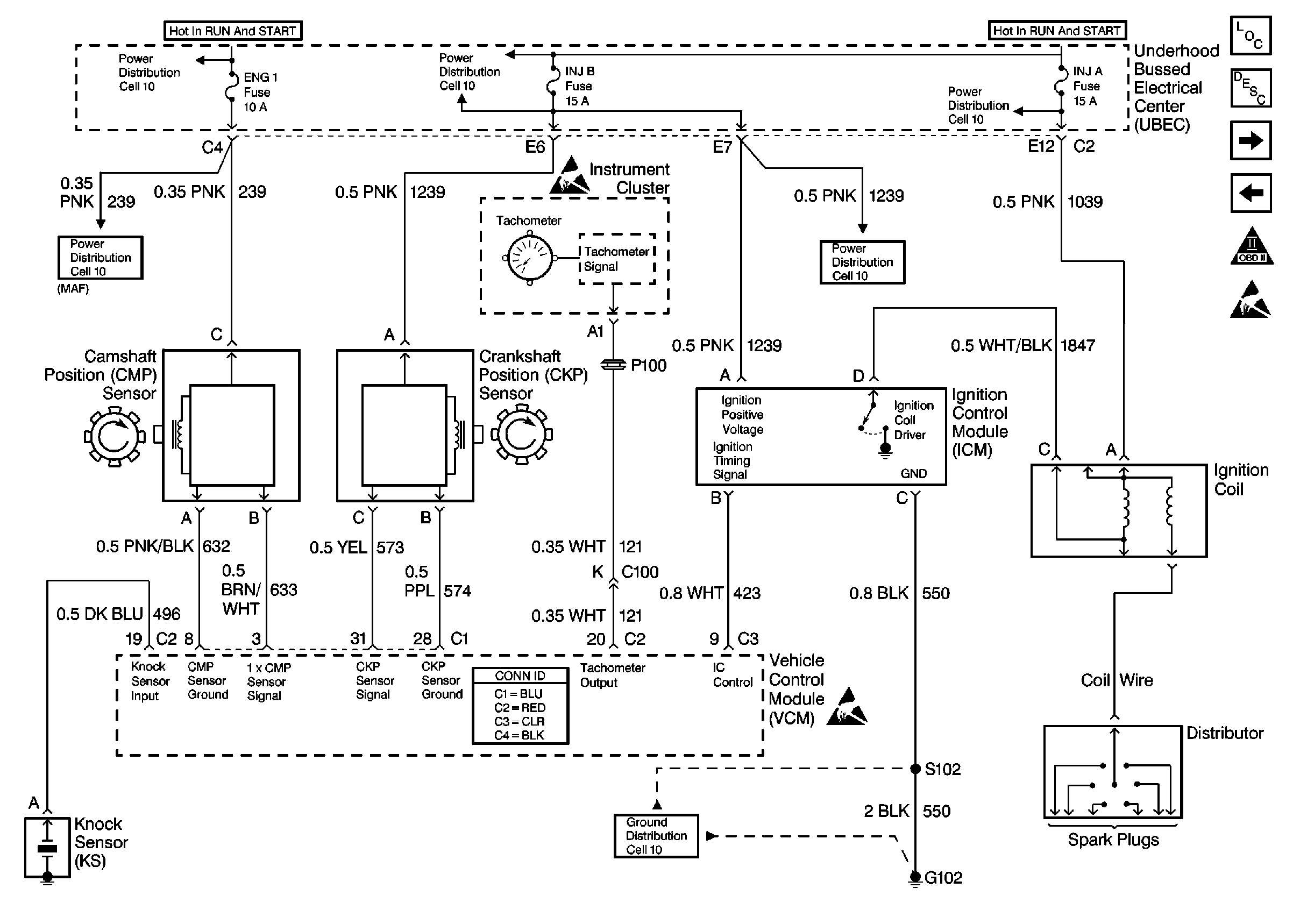
🢒 Cell 20: CMP Sensor, CKP Sensor, Tach Signal, Ignition Controls
Cell 20: CMP Sensor, CKP Sensor, Tach Signal, Ignition Controls
Cell 20: CMP Sensor, CKP Sensor, Tach Signal, Ignition Controls
Engine Controls Components
Vehicle Control Module Description
Cell 20: Serial Data
Cell 20: Transmission Inputs
OBD II Symbol Description Notice
Handling ESD Sensitive Parts Notice
Cell 10: Underhood Bussed Electrical Center, Bussed Fuses
Cell 10: Crankshaft Position Sensor, Fuel Injector 8
Cell 10: Crankshaft Position Sensor, Fuel Injector 8
Cell 10: Crankshaft Position Sensor, Fuel Injector 8
Handling ESD Sensitive Parts Notice
Cell 10: Underhood Bussed Electrical Center, Bussed Fuses
Handling ESD Sensitive Parts Notice
Cell 14: Vehicle Control Module, S103, G102