GM Service Manual Online
For 1990-2009 cars only
Makes
🢒
Chevrolet
🢒
2000
🢒
Chevy C Silverado - 2WD
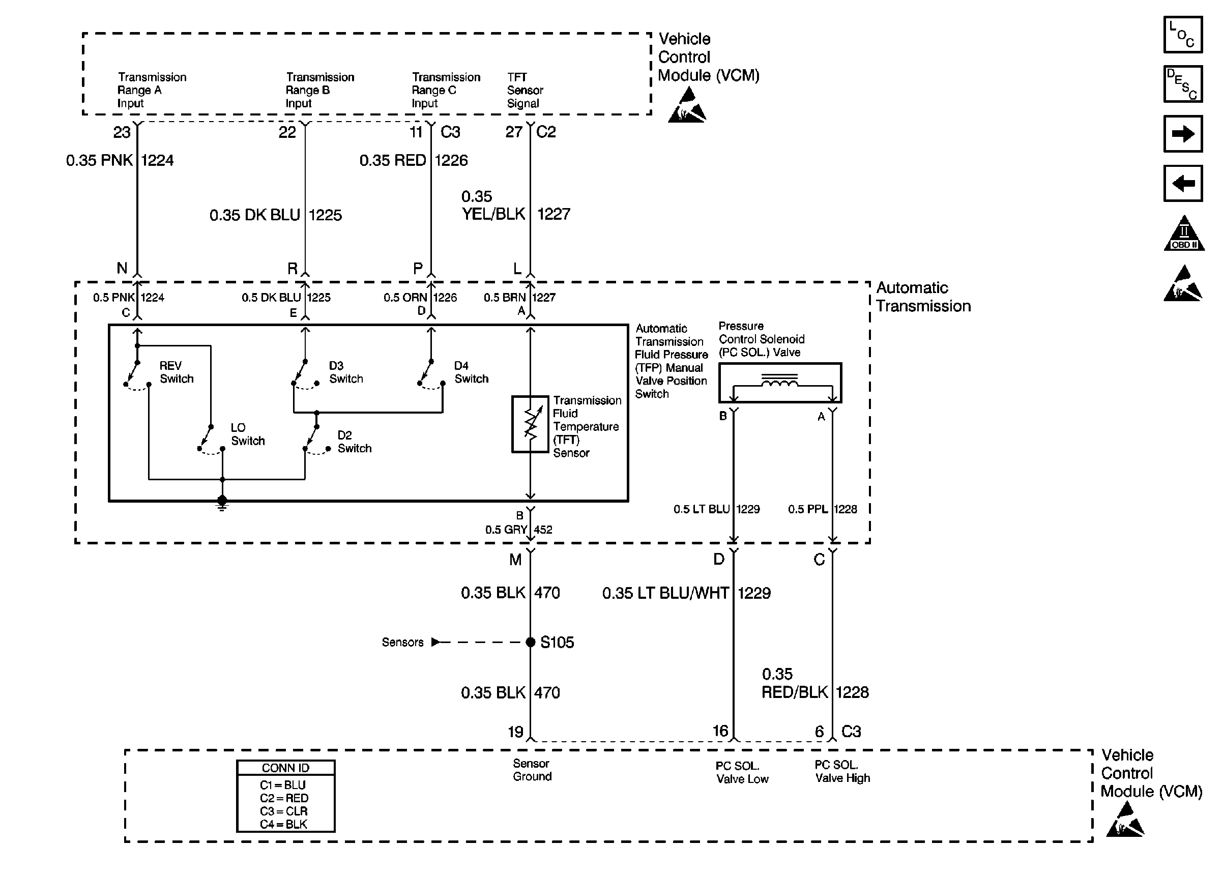
🢒 Cell 20: Transmission Inputs
Cell 20: Transmission Inputs
Cell 20: Transmission Inputs
Engine Controls Components
Vehicle Control Module Description
Cell 20: CMP Sensor, CKP Sensor, Tach Signal, Ignition Controls
Cell 20: PNP Switch, Tow/Haul Switch
OBD II Symbol Description Notice
Handling ESD Sensitive Parts Notice
Handling ESD Sensitive Parts Notice
Handling ESD Sensitive Parts Notice