GM Service Manual Online
For 1990-2009 cars only

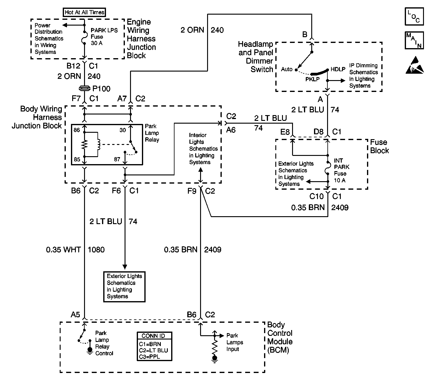
Object Number: 583464  Size: LF
Lighting Systems Components
Exterior Lights Schematics
Handling ESD Sensitive Parts Notice
Exterior Lights Schematics
Exterior Lights Schematics
Power Distribution Schematics
Interior Lights Schematics Uplevel Pickup
Interior Lights Dimming Schematics Pickup

Park, Marker Lights Circuit Description

The PARK LPS 30 A fuse in the engine wiring harness junction block supplies battery positive voltage to both the park lamp relay switch contacts and the park lamp coil circuit. The body control module (BCM) provides a ground or control circuit to the park lamp relay coil circuit. When the park lamps are turned on the BCM energizes the park lamp relay. Current flow is from the park lamp relay to the FR PRK 10 A fuse, TRA PRK 15 A fuse, LR PRK 10 A fuse, and the RR PRK 10 A fuse, and to their respective park and marker lamps. The front park and marker lamps are grounded at G100. The rear park and license lamps are grounded at G401. The roof marker and clearance lamps are grounded at G200.

The CTSY LP 15 A fuse in the engine wiring harness junction block supplies battery positive voltage to both the inadvertent power relay switch contacts and the inadvertent power relay coil circuit. The body control module (BCM) provides a ground or control circuit to the park lamp relay coil circuit. When the driver presses the cargo lamp switch, the BCM energizes the inadvertent power relay. Current flow is from the inadvertent power relay to the cargo lamps. The cargo lamps are grounded at G203.

The TRL L TURN 10 A fuse and TRL R TURN 10 A fuses in the engine wiring harness junction block supply battery positive voltage to separate park lamp circuits connected to the trailer wiring harness.

Conditions for Running the DTC

    • The key is in the RUN position.
    • The park brake is released.
    • The headlamp and panel dimmer switch is in the AUTO mode.
    • The ambient light sensor is in the DARK state.
    • The system voltage must be between 9.0 and 16.0 volts.

Conditions for Setting the DTC

    • The key is in the RUN position.
    • The park brake is released.
    • The headlamp and panel dimmer switch is in the AUTO mode.
    • The ambient light sensor is in the DARK state.
    • There is a short to ground in the park lamp input signal circuit or an open in the park lamp control circuit.
    • If the park lamp input signal circuit is open, regardless of the headlamp and panel dimmer switch position, the DTC will set.
    • If the park lamp control circuit is open, with the headlamp and panel dimmer switch in the AUTO mode, the DTC will set.
    • The system voltage must be between 9.0 and 16.0 volts.
    • The above conditions must be met for 0.5 seconds.

Action Taken When the DTC Sets

The park lamps will be inoperative in the AUTO mode.

Conditions for Clearing the DTC

    • A current DTC will clear immediately when the condition for setting the fault is corrected with the key ON.
    • A history DTC will clear after 100 consecutive ignition cycles without a fault present.
    • A clear codes message is sent by the scan tool.

Diagnostic Aids

Important: Use the appropriate probe from the J 35616 for any probing of electrical components in this table, in order to prevent damage to them.

Perform a visual inspection for loose or poor connections at all related components. Refer to Testing for Intermittent Conditions and Poor Connections in Wiring Systems.

Test Description

The number(s) below refer to the step number(s) on the diagnostic table.

  1. Command both the ON and OFF states. Repeat the commands as necessary.

  2. This step determines if the condition is located in the interior lamps supply voltage circuit.

  3. This step determines if the condition is located on the coil side or the switch side of the circuit.

  4. This step determines if the body control module (BCM) is providing ground for the park lamp relay.

  5. This step determines if a ground is constantly being applied to the park lamp relay.

  6. After you replace the BCM, you must calibrate the new module for proper operation.

Step

Action

Yes

No

1

Did you perform the Lighting System Diagnostic System Check?

Go to Step 2

Go to Diagnostic System Check - Lighting Systems

2

  1. Install a scan tool.
  2. Turn ON the ignition, with the engine OFF.
  3. With a scan tool, command the park lamps relay ON and OFF.

Do the park lamps turn ON and OFF with each command?

Go to Step 4

Go to Step 3

3

  1. Place the instrument panel dimmer switch in the full bright position.
  2. With a scan tool, command the park lamp relay ON and OFF.

Do the instrument panel lamps illuminate?

Go to Testing for Intermittent Conditions and Poor Connections in Wiring Systems

Go to Step 19

4

With a scan tool, command the park lamp relay ON and OFF.

Do you hear a click when you command the park lamp relay ON and OFF?

Go to Step 10

Go to Step 5

5

  1. Turn OFF the ignition.
  2. Disconnect the park lamp relay.
  3. Turn ON the ignition, with the engine OFF.
  4. Probe the PARK LPS battery positive circuit of the park lamp relay, coil side, with a test lamp that is connected to a good ground.

Does the test lamp illuminate?

Go to Step 6

Go to Step 21

6

  1. Connect a test lamp between the control circuit of the park lamp relay and the PARK LPS battery positive circuit of the park lamp relay coil.
  2. With a scan tool, command the park lamp relay ON and OFF .

Does the test lamp turn ON and OFF with each command?

Go to Step 17

Go to Step 7

7

Does the test lamp remain illuminated with each command?

Go to Step 9

Go to Step 8

8

Test the control circuit of the park lamp relay for a short to voltage or an open. Refer to Circuit Testing and Wiring Repairs in Wiring Systems.

Did you find and correct the condition?

Go to Step 26

Go to Step 18

9

Test the control circuit of the park lamp relay for a short to ground. Refer to Circuit Testing and Wiring Repairs in Wiring Systems.

Did you find and correct the condition?

Go to Step 26

Go to Step 25

10

Turn ON the ignition, with the engine OFF.

Do the park lamps operate continuously?

Go to Step 11

Go to Step 12

11

  1. Turn OFF the ignition.
  2. Disconnect the park lamp relay.
  3. Turn ON the ignition, with the engine OFF.

Do the park lamps operate continuously?

Go to Step 20

Go to Step 24

12

  1. Turn OFF the ignition.
  2. Disconnect the park lamp relay.
  3. Probe the PARK LPS supply voltage circuit of the park lamp relay, switch side, with a test lamp that is connected to a good ground.

Does the test lamp illuminate?

Go to Step 13

Go to Step 22

13

Connect a 3 amp fused jumper wire between the PARK LPS supply voltage circuit of the park lamp relay, switch side, and the supply voltage circuit of the park lamps.

Do the park lamps operate?

Go to Step 17

Go to Step 14

14

Test the supply voltage circuit of the park lamps for an open or high resistance. Refer to Circuit Testing and Wiring Repairs in Wiring Systems.

Did you find and correct the condition?

Go to Step 26

Go to Step 15

15

Test the ground circuit of the park lamps for an open or high resistance. Refer to Circuit Testing and Wiring Repairs in Wiring Systems.

Did you find and correct the condition?

Go to Step 26

Go to Step 16

16

Inspect for poor connections at the headlamp panel dimmer switch. Refer to Testing for Intermittent Conditions and Poor Connections and Connector Repairs in Wiring Systems.

Did you find and correct the condition?

Go to Step 26

Go to Step 23

17

Inspect for poor connections at the park lamp relay. Refer to Testing for Intermittent Conditions and Poor Connections and Connector Repairs in Wiring Systems.

Did you find and correct the condition?

Go to Step 26

Go to Step 24

18

Inspect for poor connections at the harness connector of the body control module. Refer to Testing for Intermittent Conditions and Poor Connections and Connector Repairs in Wiring Systems.

Did you find and correct the condition?

Go to Step 26

Go to Step 25

19

Repair the interior park lamps supply voltage circuit of the park lamps for an open or short to ground. Refer to Wiring Repairs in Wiring Systems.

Did you complete the repair?

Go to Step 26

20

Repair the supply voltage circuit of the park lamps for a short to voltage. Refer to Wiring Repairs in Wiring Systems.

Did you complete the repair?

Go to Step 26

--

21

Repair the PARK LPS batter positive circuit of the park lamp relay coil. Refer to Wiring Repairs in Wiring Systems.

Did you complete the repair?

Go to Step 26

--

22

Repair the PARK LPS supply voltage circuit of the park lamp relay switch. Refer to Wiring Repairs in Wiring Systems.

Did you complete the repair?

Go to Step 26

--

23

Replace the headlamp and panel dimmer switch. Refer to Headlamp Switch Replacement .

Did you complete the replacement?

Go to Step 26

--

24

Replace the park lamp relay.

Did you complete the replacement?

Go to Step 26

--

25

Important: Perform the setup procedure for the body control module.

Replace the body control module. Refer to Body Control Module Replacement in Body Control System.

Did you complete the replacement?

Go to Step 26

--

26

Operate the system in order to verify the repair.

Did you correct the condition?

Go to Step 2

System OK