GM Service Manual Online
For 1990-2009 cars only
Makes
🢒
Chevrolet
🢒
2002
🢒
Chevy C Silverado - 2WD
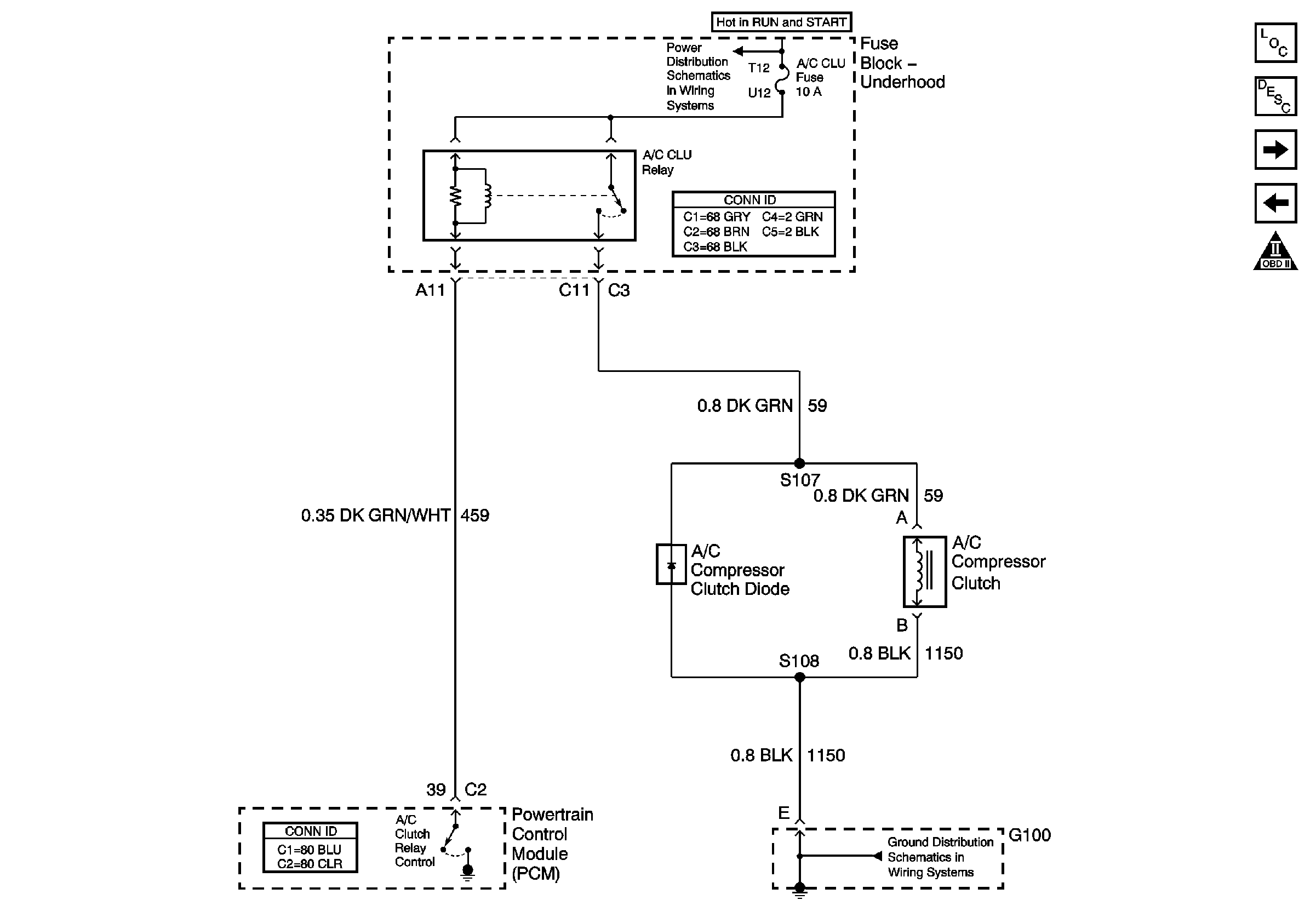
🢒 A/C Clutch and Relay
A/C Clutch and Relay
A/C Clutch and Relay
Master Electrical Component List
Cooling System Description and Operation
Air Pump Motor and Vacuum Valve Solenoid, NC8 Only
Cruise Control Module and VSS
OBD II Symbol Description Notice
G100 and G102
Battery Feed to the Underhood Fuse Block