GM Service Manual Online
For 1990-2009 cars only
Makes
🢒
Chevrolet
🢒
2002
🢒
Chevy C Silverado - 2WD
🢒 Controlled/Monitored Subsystem References
Controlled/Monitored Subsystem References
Controlled Monitored Subsystem References
Master Electrical Component List
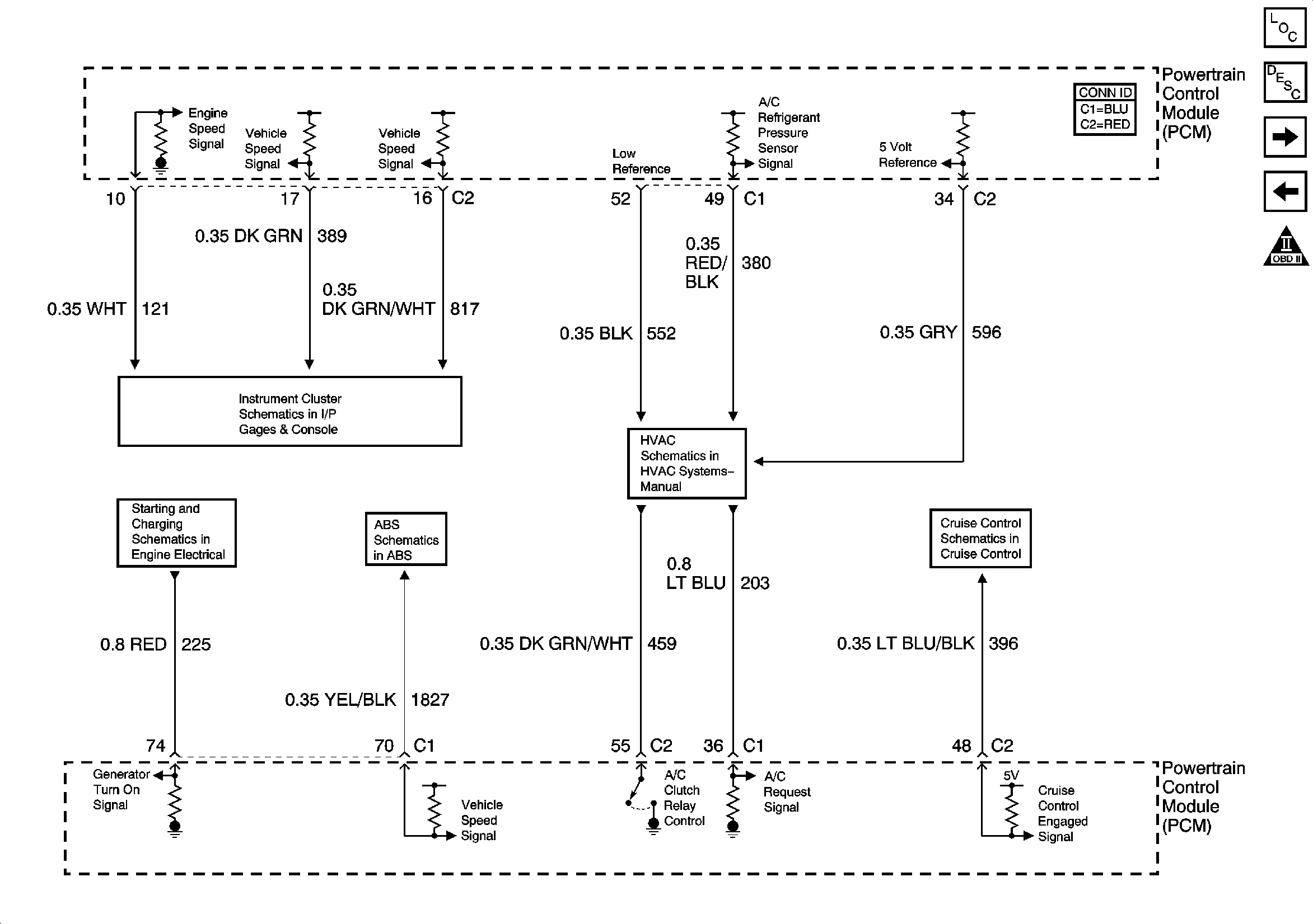
Powertrain Control Module Description
Transmission Controls - A/T
Device Controls
OBD II Symbol Description Notice
Engine Charging (2.2 L)
Gages
Speed Sensor Signals
Compressor Controls - 2.2L
Clutch Pedal Position Switch, Stop Lamp Switch, PCM and Cruise Control Module