GM Service Manual Online
For 1990-2009 cars only
Makes
🢒
Chevrolet
🢒
2002
🢒
Chevy C Silverado - 2WD
🢒 Power and Ground
Power and Ground
Power and Ground
Master Electrical Component List
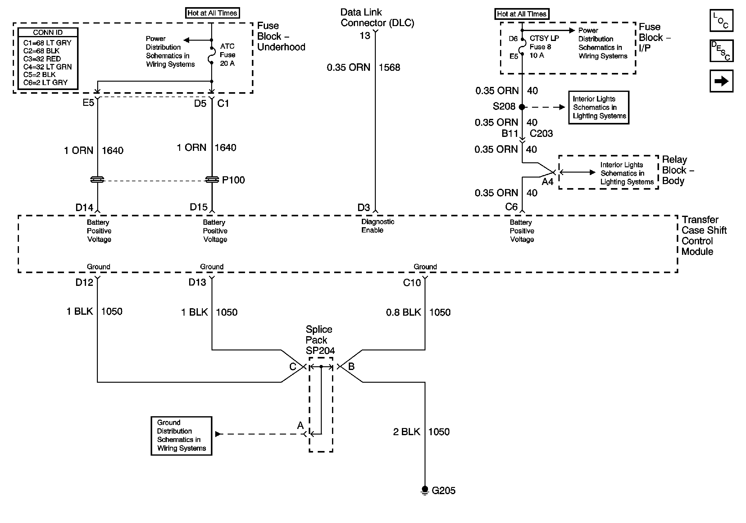
Transfer Case Description and Operation
Transfer Case Shift Control Switch
B+ Bus Bar
G205 (Utility and Crew Cab)
INT BATT Fuse
CTSY LP Fuse and Courtesy Lamp Relay
CTSY LP Fuse and Courtesy Lamp Relay