GM Service Manual Online
For 1990-2009 cars only
Makes
🢒
Chevrolet
🢒
2002
🢒
Chevy C Silverado - 2WD
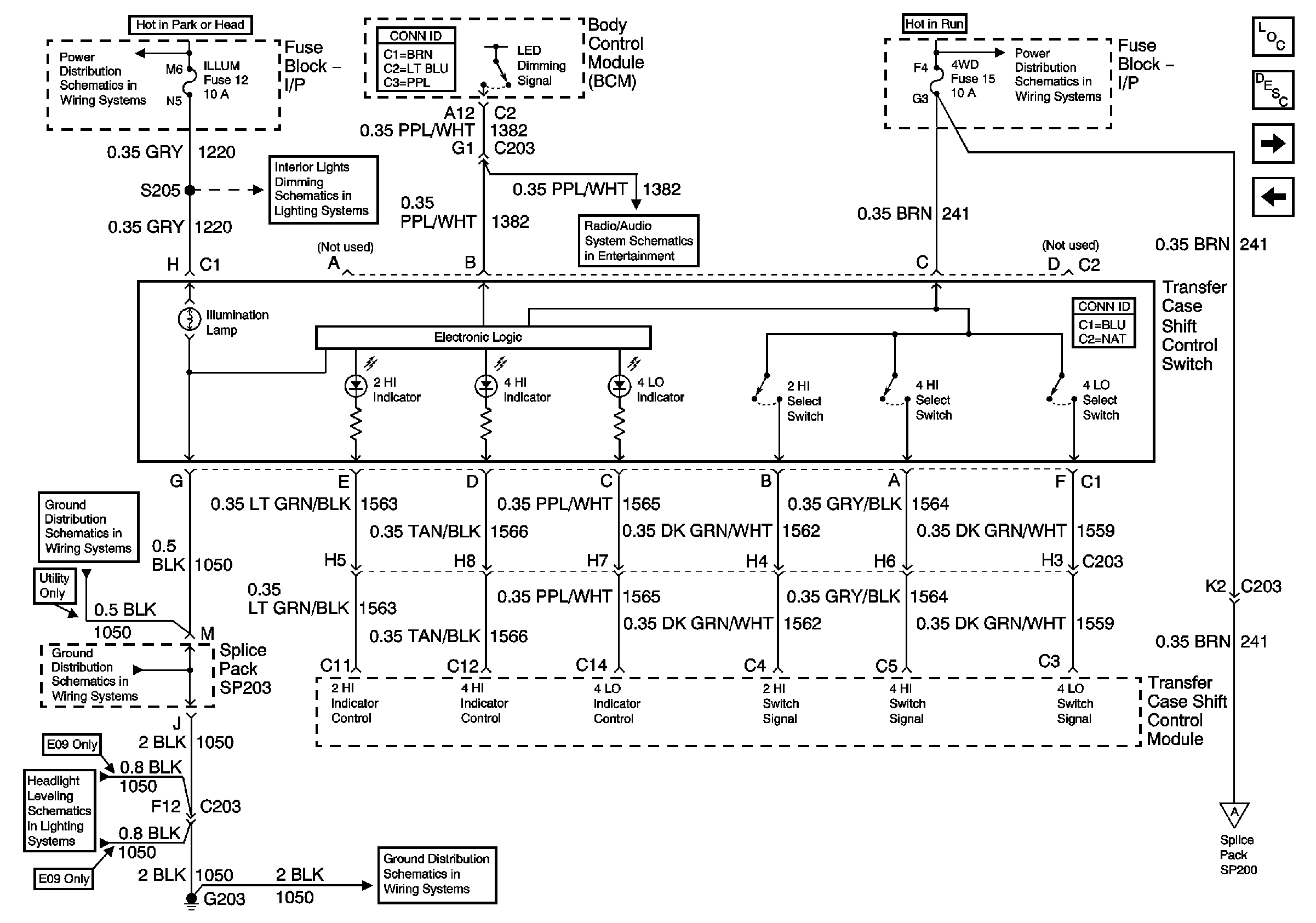
🢒 Transfer Case Shift Control Switch
Transfer Case Shift Control Switch
Transfer Case Shift Control Switch
Master Electrical Component List
Transfer Case Description and Operation
Transfer Case Encoder Motor
Power and Ground
ILLUM and PARK LP Fuses
ILLUM Fuse 12
LED Dimming Signal
Ign ACC, RUN and RAP Bus Bar
G203 and G204 (Pickup)
G203 and G204 (Utility w/ Manual A/C)
Headlight Leveling Schematics
G203 and G204 (Pickup)
Front Axle Indicator Switch and Powertrain Control Module (PCM)