GM Service Manual Online
For 1990-2009 cars only
Makes
🢒
Chevrolet
🢒
2002
🢒
Chevy C Silverado - 2WD
🢒 Interior Lights References
Interior Lights References
Interior Lights References
Master Electrical Component List
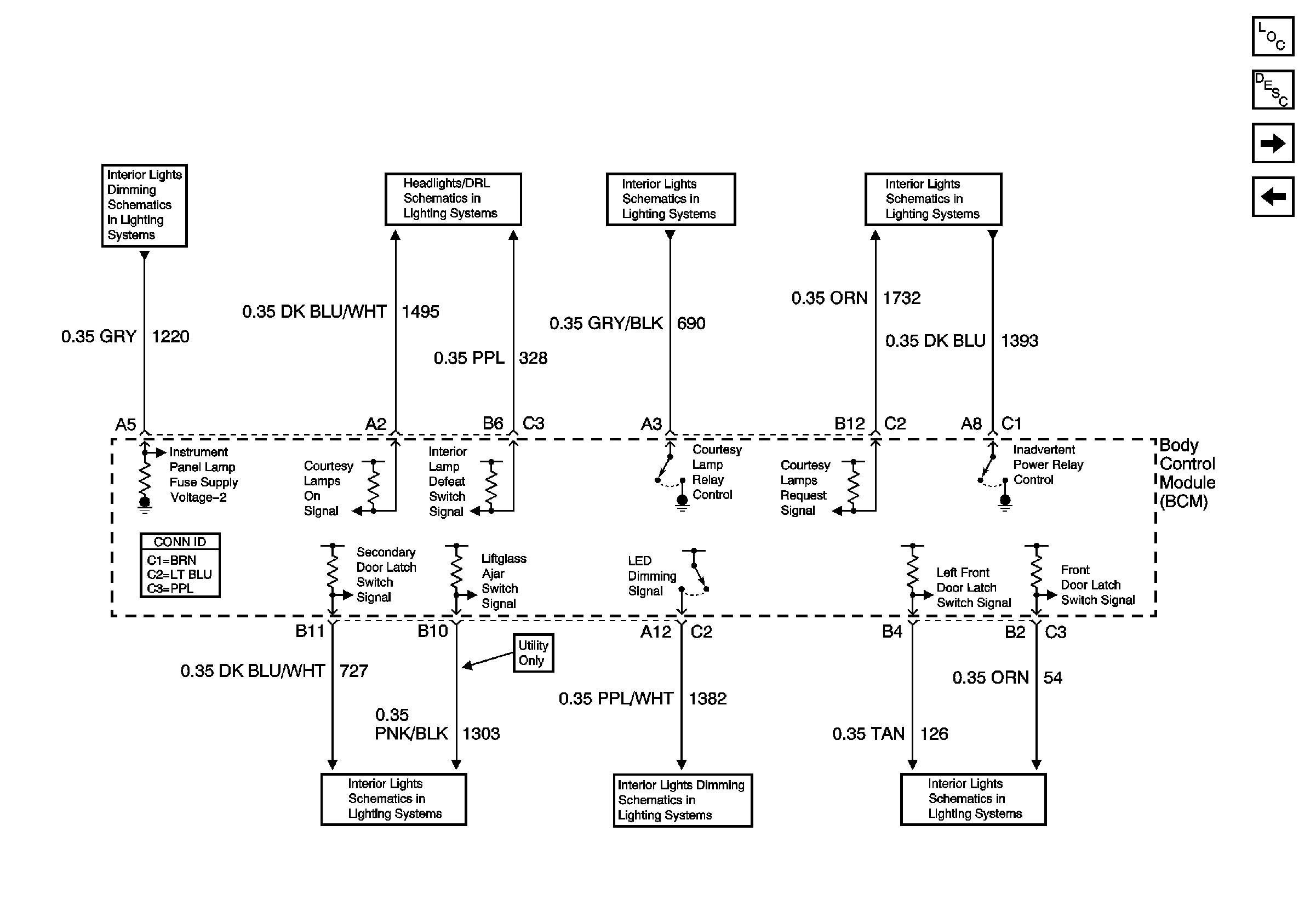
Body Control System Description and Operation
Exterior Light References
Controlled/Monitored Subsystem References
LED Dimming Signal
Headlamp Switch, Ambient Light Sensor and BCM
CTSY LP Fuse and Courtesy Lamp Relay
Inadvertent Power Relay
Rear Door Jamb and Liftglass Ajar Jamb Switches
Seat Belt Schematics
Front Door Jamb and Door Handle Switches