GM Service Manual Online
For 1990-2009 cars only
Makes
🢒
Chevrolet
🢒
2002
🢒
Chevy C Silverado - 2WD
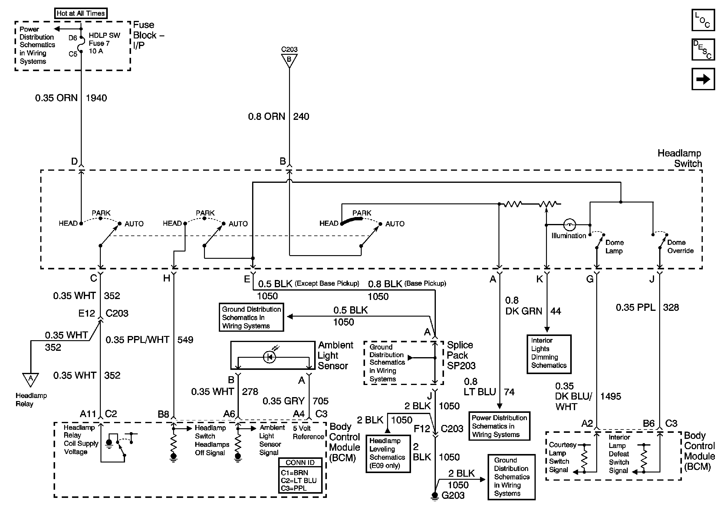
🢒 Headlamp Switch, Ambient Light Sensor and BCM
Headlamp Switch, Ambient Light Sensor and BCM
Headlamp Switch, Ambient Light Sensor and BCM
Master Electrical Component List
Exterior Lighting Systems Description and Operation
DRL and Headlamp Power Relays
AUX PWR, RDO BATT and HDLP SW Fuses
Headlamp Grounding Relay and BCM
G203 and G204 (Pickup)
G203 and G204 (Pickup)
Headlamp Switch
DRL and Headlamp Power Relays
ILLUM and PARK LP Fuses
Headlight Leveling Schematics
G203 and G204 (Pickup)