GM Service Manual Online
For 1990-2009 cars only
Makes
🢒
Chevrolet
🢒
2002
🢒
Chevy C Silverado - 2WD
🢒 Rear Wipers
Rear Wipers
Rear Wipers
Master Electrical Component List
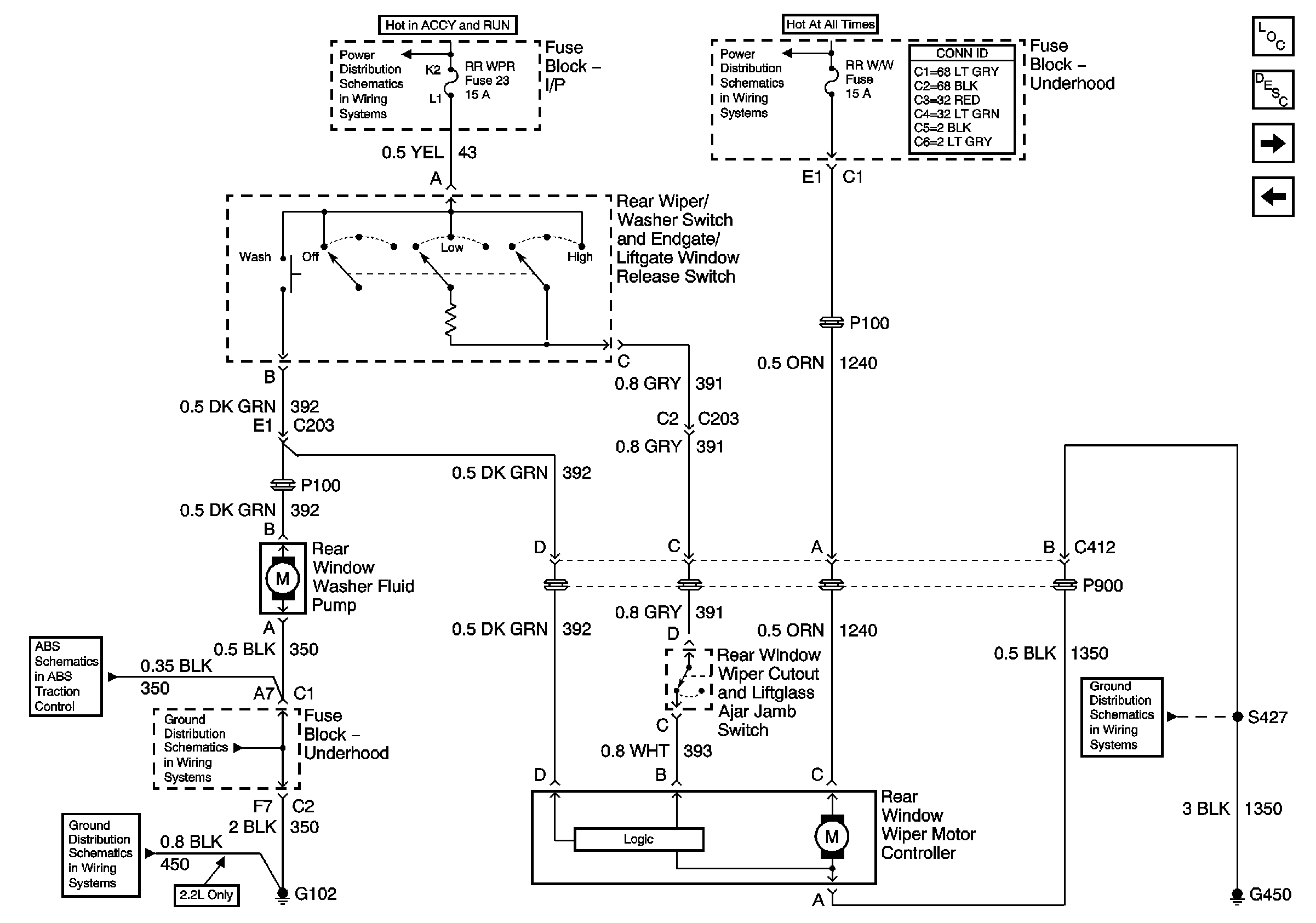
Rear Wiper/Washer System Description and Operation
Headlamp Washer System (Export Only)
Pulse Wipers
Ign ACC, RUN and RAP Bus Bar
STUD 2, ABS, TBC and RR W/W Fuses
Power and Ground
G102 (Except Export)
G102 (Except Export)
G420,G450 and S427 (Utility and Crew Cab)