GM Service Manual Online
For 1990-2009 cars only
Makes
🢒
Chevrolet
🢒
2002
🢒
Chevy C Silverado - 2WD
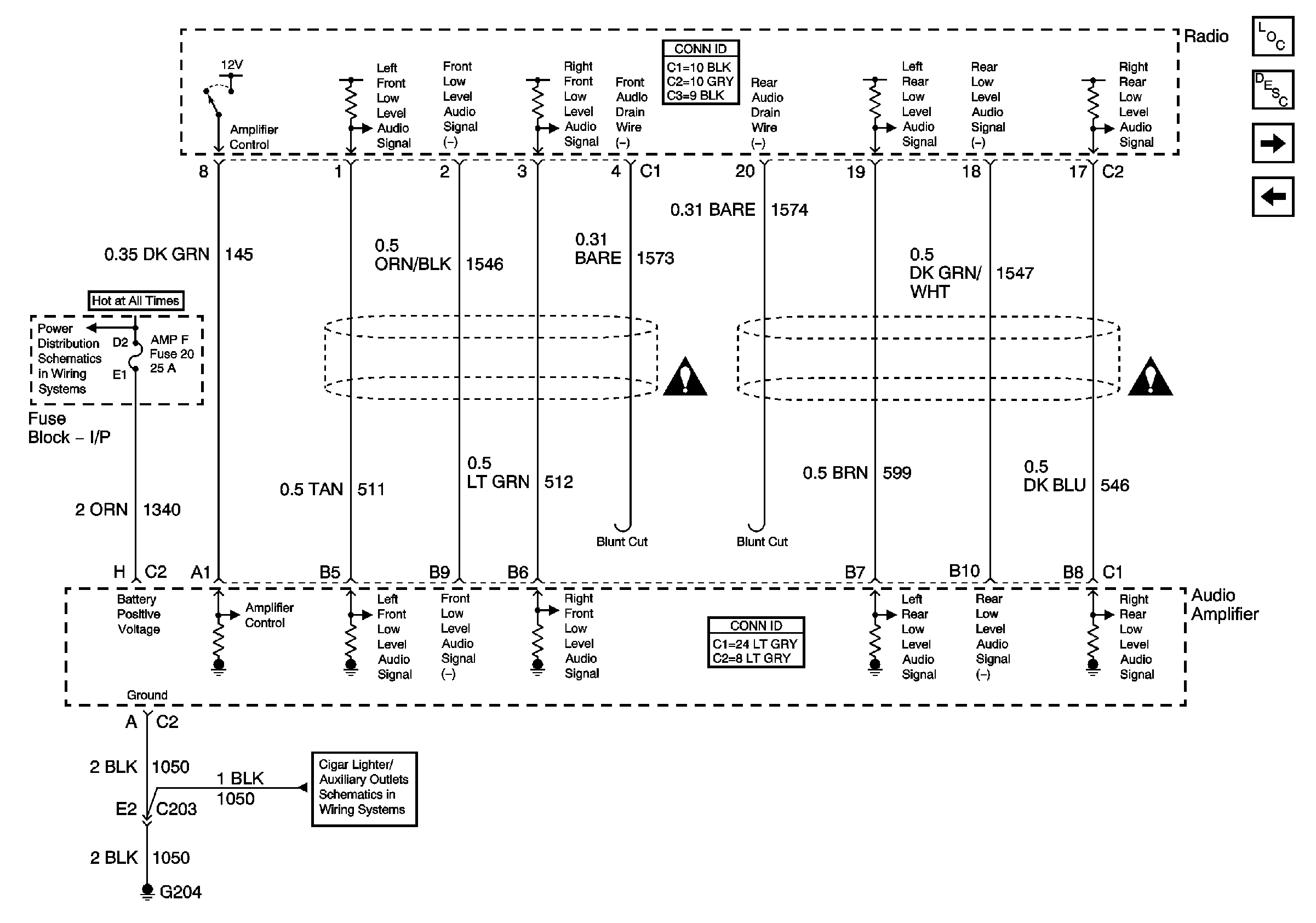
🢒 Audio Amplifier Inputs
Audio Amplifier Inputs
Audio Amplifier Inputs
Master Electrical Component List
Radio/Audio System Description and Operation w/o CTF
Amplifier, Left Channel Output
Remote Tape/CD Player
Entertainment Schematic Icons
Entertainment Schematic Icons
INT BATT Fuse
Cigar Lighter/Auxiliary Outlets Schematics