GM Service Manual Online
For 1990-2009 cars only
Makes
🢒
Chevrolet
🢒
2002
🢒
Chevy C Silverado - 2WD
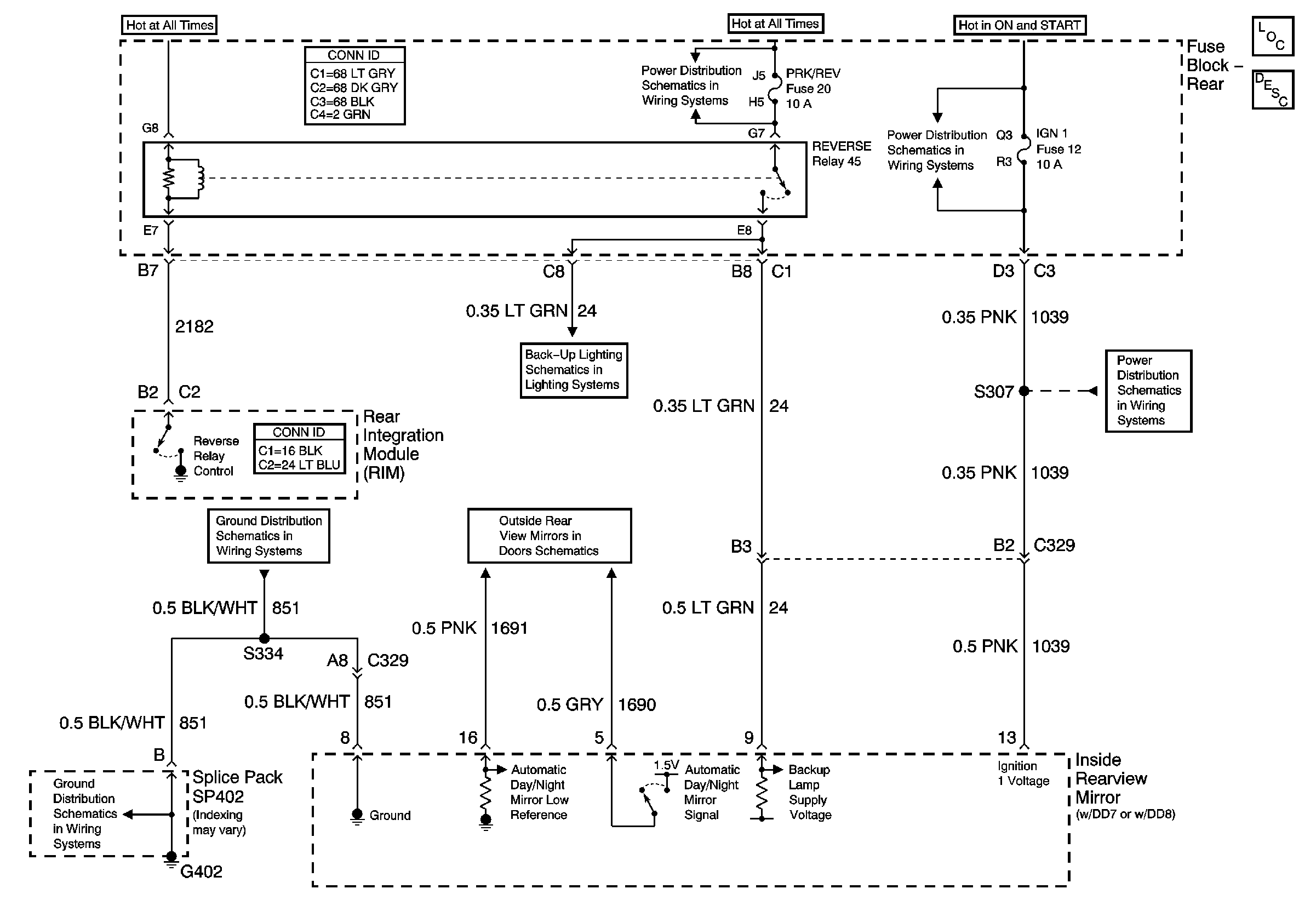
🢒 Inside Rear View Mirror (w/DD7 or w/DD8)
Inside Rear View Mirror (w/DD7 or w/DD8)
Inside Rear View Mirror (w/DD7 or w/DD8)
Master Electrical Component List
IGN-3 and ABS Fuses (Fuse Block Rear)
G402
G402
Heated Mirrors
IGN SW and NSBU Fuses (Fuse Block Rear)
IGN-3 and ABS Fuses (Fuse Block Rear)