GM Service Manual Online
For 1990-2009 cars only
Makes
🢒
Chevrolet
🢒
2002
🢒
Chevy C Silverado - 2WD
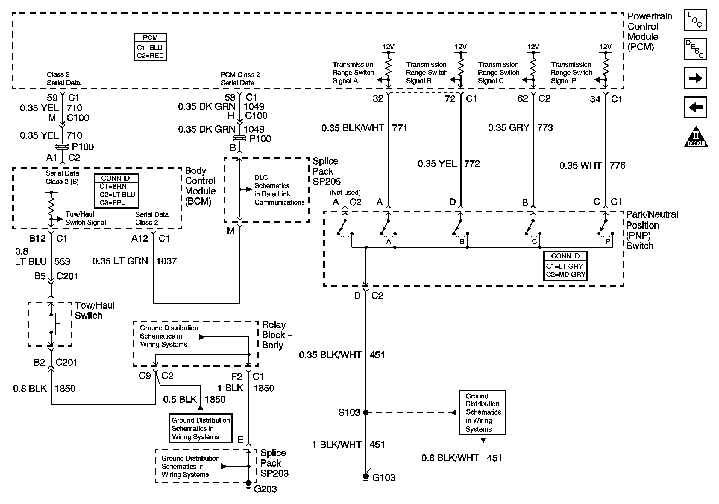
🢒 Tow/Haul and PNP Switch Inputs
Tow/Haul and PNP Switch Inputs
Tow/Haul and PNP Switch Inputs
Master Electrical Component List
Automatic Transmission Electrical Connector Description
Vehicle Speed Signal and 4WD Low Signal
Switch Inputs
OBD II Symbol Description Notice
Splice Pack SP205
G203 - 2 of 3 - Base Except Crew Cab
G203 - 2 of 3 - Base Except Crew Cab
G203 - 1 of 3
G103 and G105 - Gas