GM Service Manual Online
For 1990-2009 cars only
Makes
🢒
Chevrolet
🢒
2002
🢒
Chevy C Silverado - 2WD
🢒 Engine Data Sensors - VSS and Injection Timing Controls
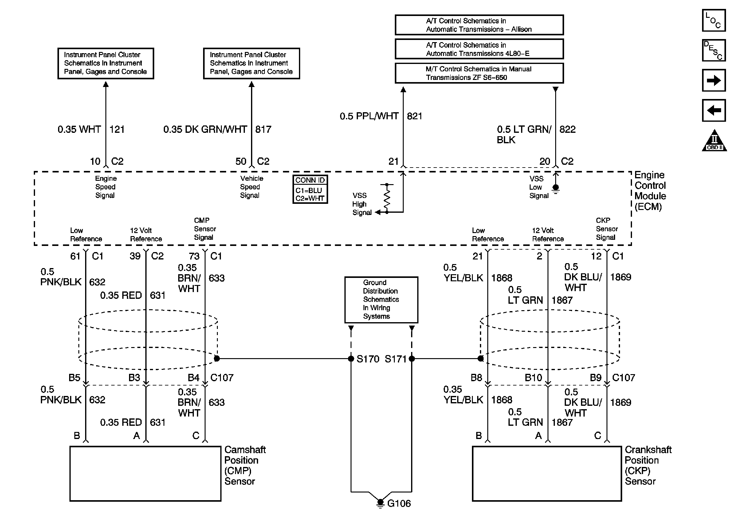
Engine Data Sensors - VSS and Injection Timing Controls
Engine Data Sensors - VSS and Injection Timing Controls
Master Electrical Component List
Engine Control Module Description
Engine Data Sensors - Glow Plug Controls - Except California Emissions
Engine Data Sensors - Pedal Position
OBD II Symbol Description Notice
Gages
Gages
Vehicle Speed Signal and 4WD Low Signal
Manual Transmission Schematics
G106 - Diesel