GM Service Manual Online
For 1990-2009 cars only
Makes
🢒
Chevrolet
🢒
2002
🢒
Chevy C Silverado - 2WD
🢒 Fuel Controls - Fuel Pump Controls
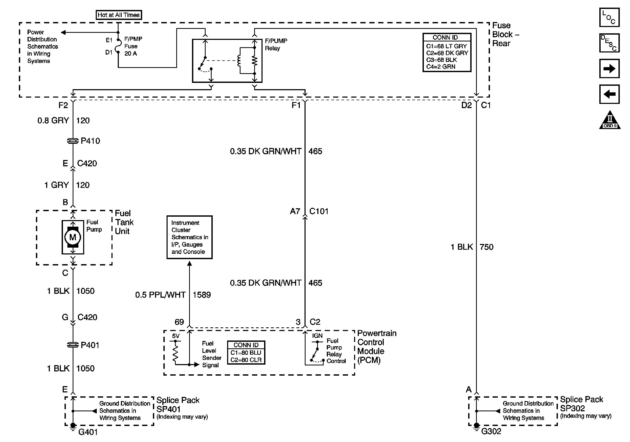
Fuel Controls - Fuel Pump Controls
Fuel Controls -- Fuel Pump Controls
Master Electrical Component List
Fuel Controls - Fuel Injectors
Ignition Controls - Sensors
Engine Controls Schematic Icons
G300 and G302
G401 (2 of 2)
Fuel Pump and Sender Assembly, Rear Compartment Lid Switch
Battery Feed to Rear Fuse Block