GM Service Manual Online
For 1990-2009 cars only
Makes
🢒
Chevrolet
🢒
2002
🢒
Chevy C Silverado - 2WD
🢒 Manual Transmission - NV1500
Manual Transmission - NV1500
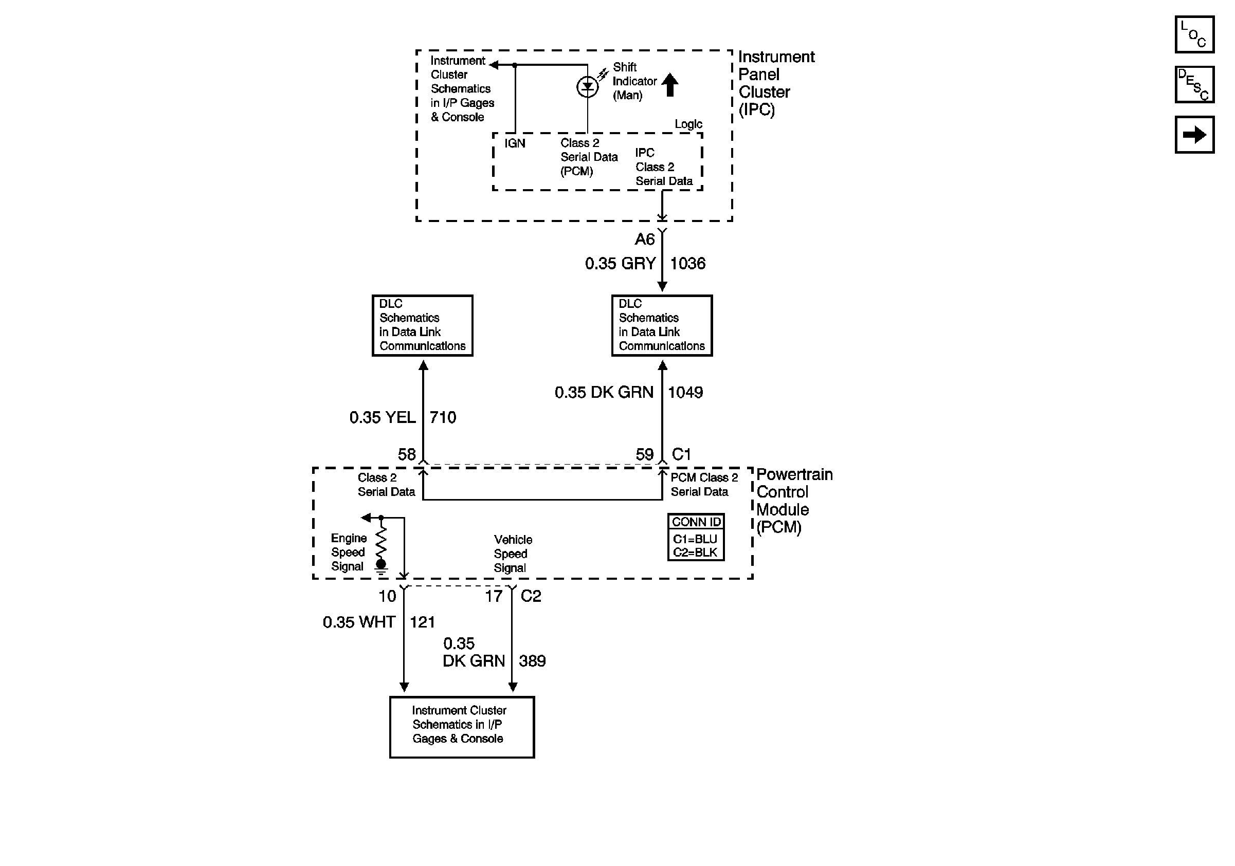
Shift Indicator
Master Electrical Component List
Transmission System Description and Operation
Manual Transmission - NV1500
Indicators
SP201 (4.3L)
SP201 (4.3L)
Gages