GM Service Manual Online
For 1990-2009 cars only
Makes
🢒
Chevrolet
🢒
2002
🢒
Chevy C Silverado - 2WD
🢒 Manual Transmission - NV3500
Manual Transmission - NV3500
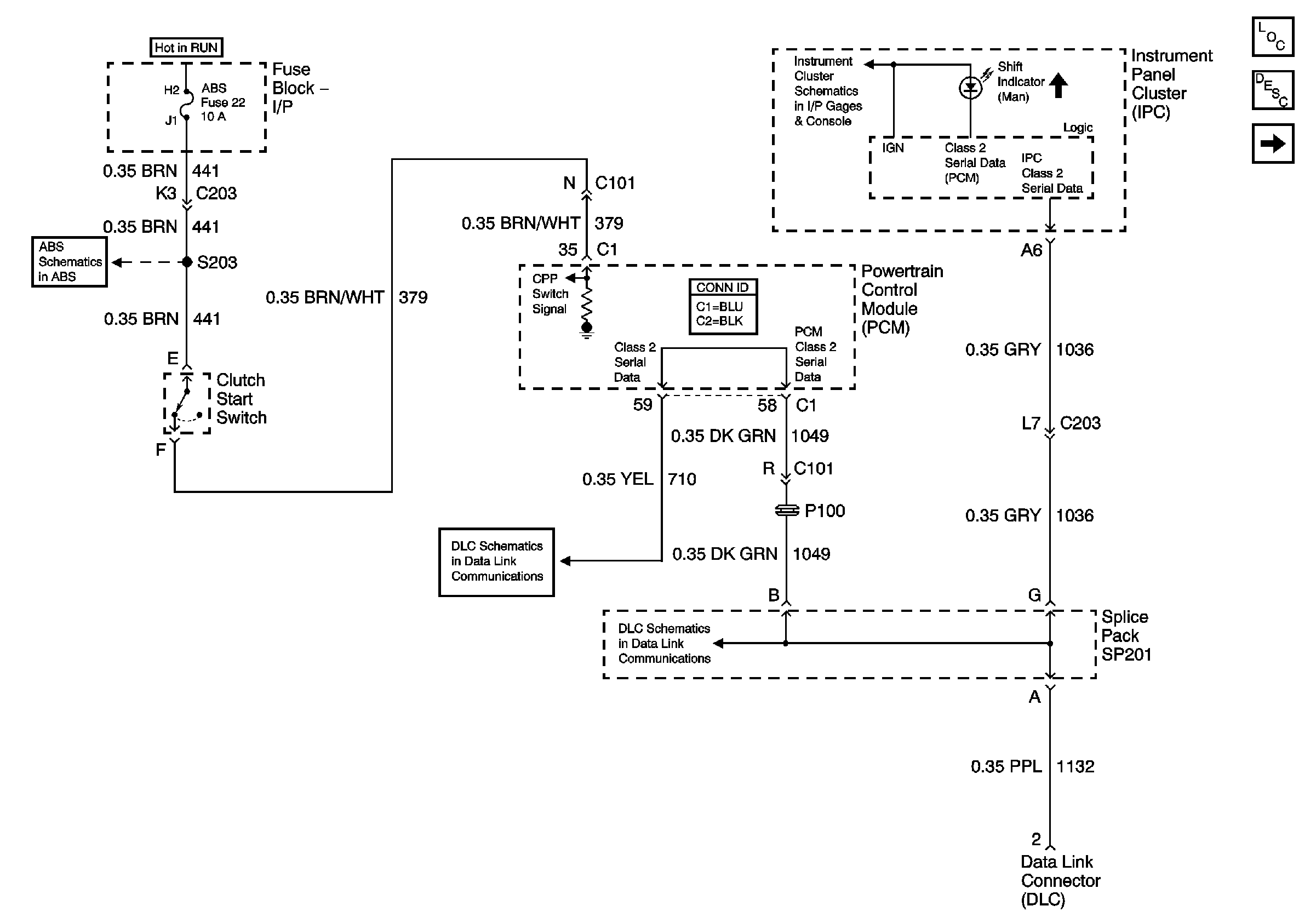
Shift Indicator
Master Electrical Component List
Transmission System Description and Operation
Vehicle Speed Sensor
Power and Ground
SP201 (4.3L)
SP201 (4.3L)
Inflatable Restraint Steering Wheel Module Coil and Front End Discriminating Sensors