GM Service Manual Online
For 1990-2009 cars only
Makes
🢒
Chevrolet
🢒
2003
🢒
Chevy C Silverado - 2WD
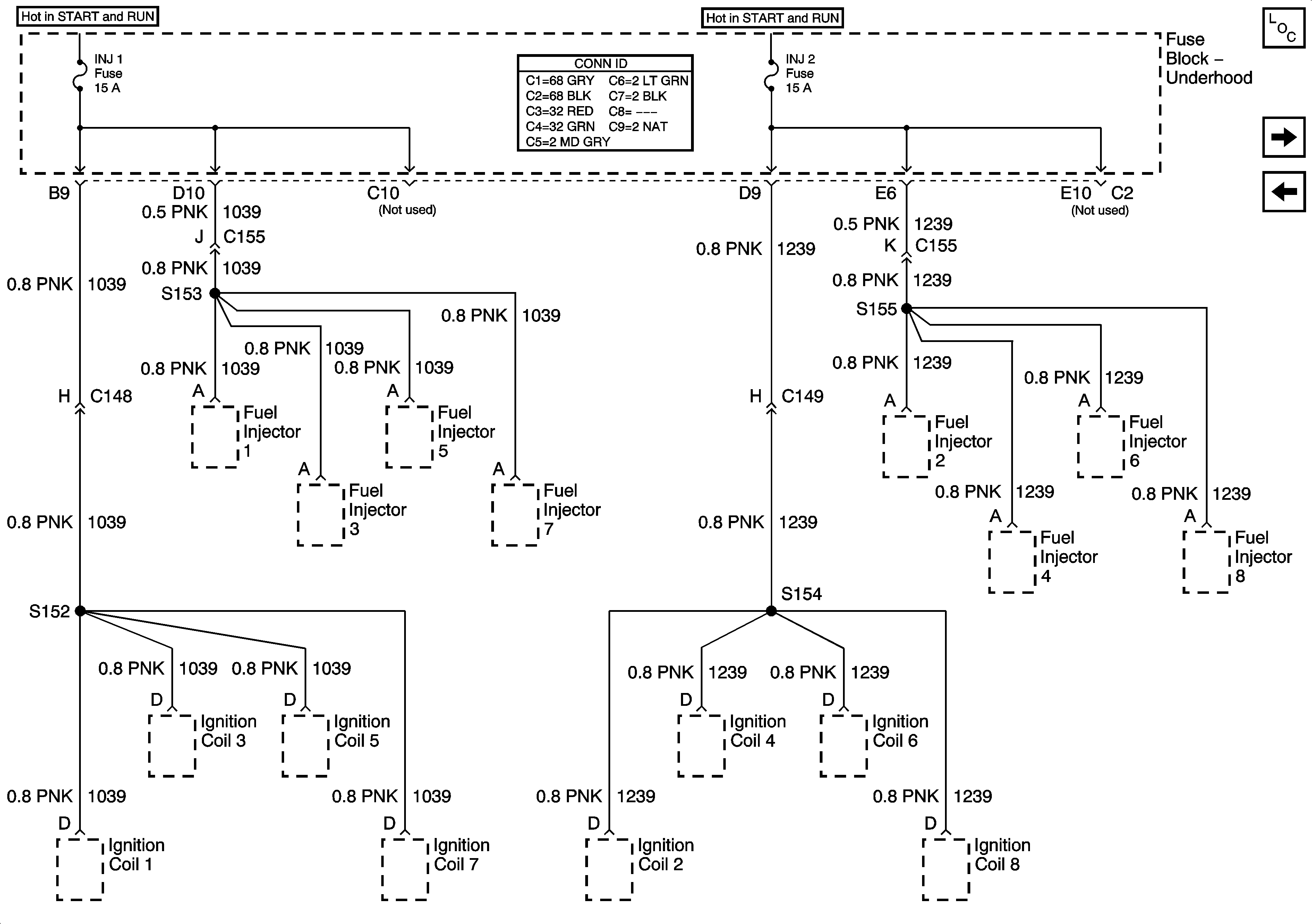
🢒 INJ 1, INJ 2-8.1L Only
INJ 1, INJ 2-8.1L Only
INJ 1, INJ 2 - 8.1L Only
Master Electrical Component List
FUEL HT and ECM I Fuses - Diesel Only
INJ 1, INJ 2 - Gas Only