GM Service Manual Online
For 1990-2009 cars only
Makes
🢒
Chevrolet
🢒
2004
🢒
Chevy C Silverado - 2WD
🢒 Except UQ7
Except UQ7
Except UQ7
Master Electrical Component List
UQ7 Except Y91
B+ Bus Bar - 1 of 2
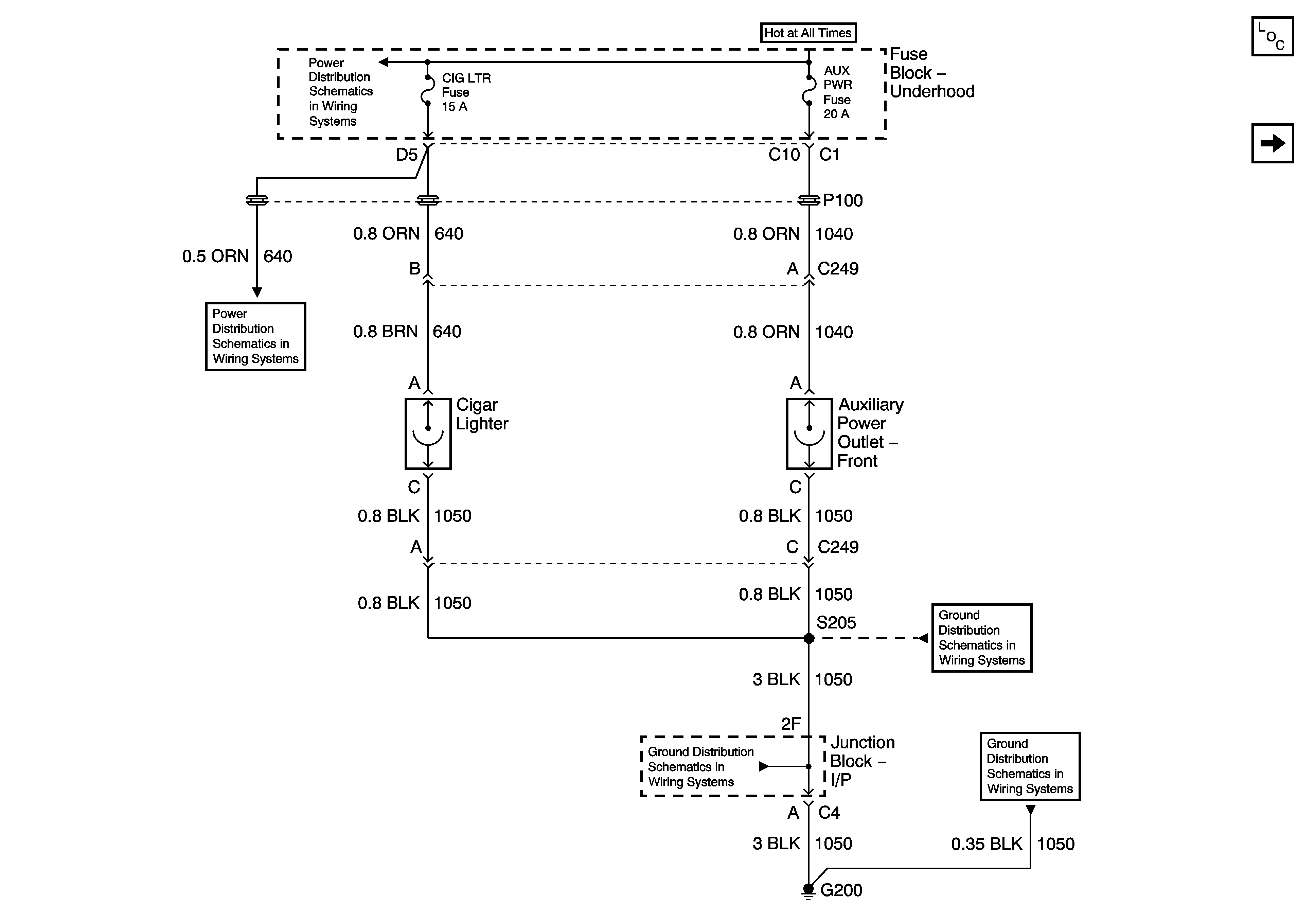
INFO and CIG LTR Fuses
G200 - 1 of 3
G200 - 2 of 3
G200 - 1 of 3