GM Service Manual Online
For 1990-2009 cars only
Makes
🢒
Chevrolet
🢒
2004
🢒
Chevy C Silverado - 2WD
🢒 Transmission Controls - A/T
Transmission Controls - A/T
Transmission Controls - A/T
Master Electrical Component List
Powertrain Control Module Description
Controlled/Monitored Subsystem References 2 of 2
OBD II Symbol Description Notice
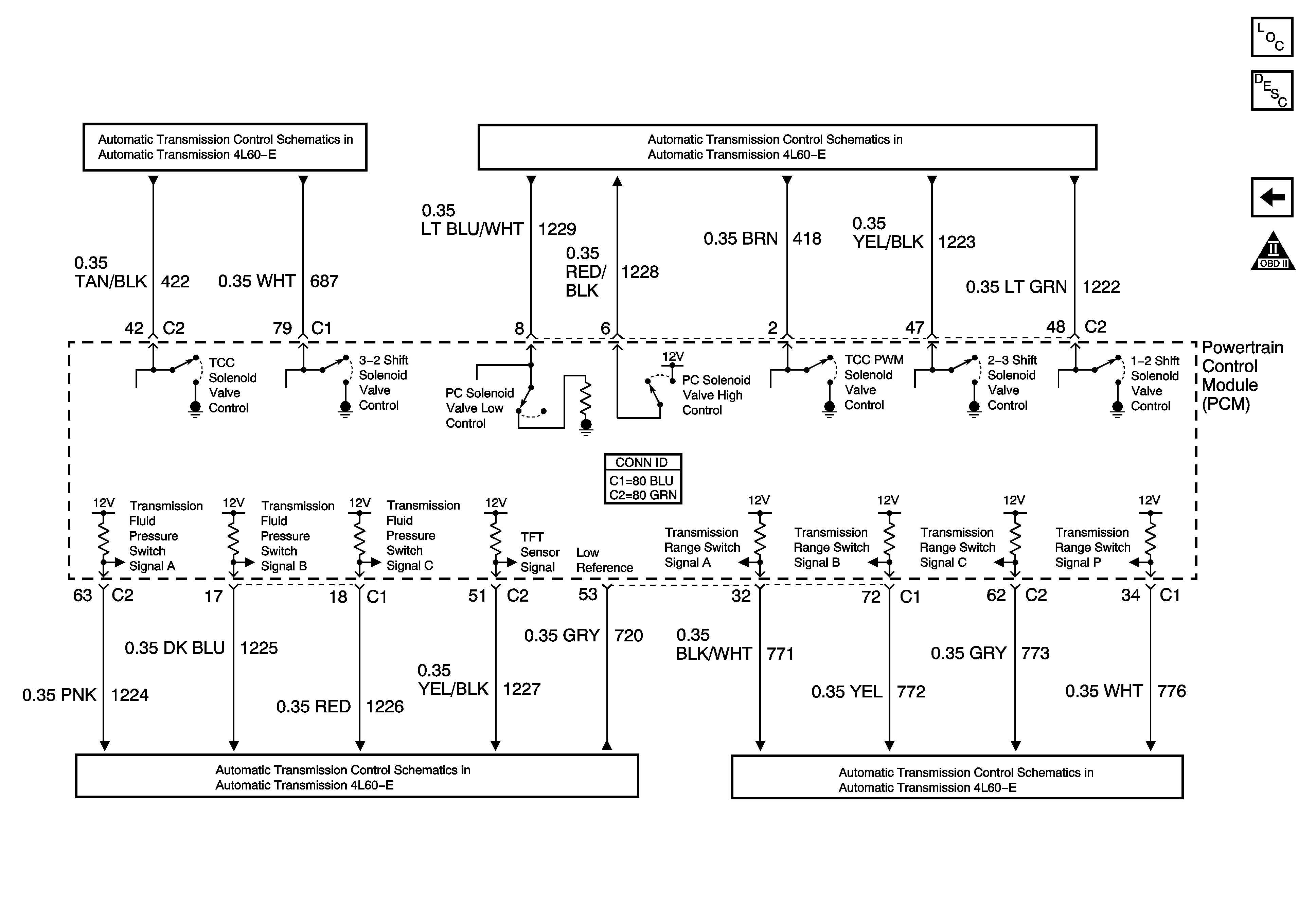
Valve Controls and Brake Switch
Switch Inputs
Valve Controls and Brake Switch
Tow/Haul and PNP Switches