GM Service Manual Online
For 1990-2009 cars only
Makes
🢒
Chevrolet
🢒
2004
🢒
Chevy C Silverado - 2WD
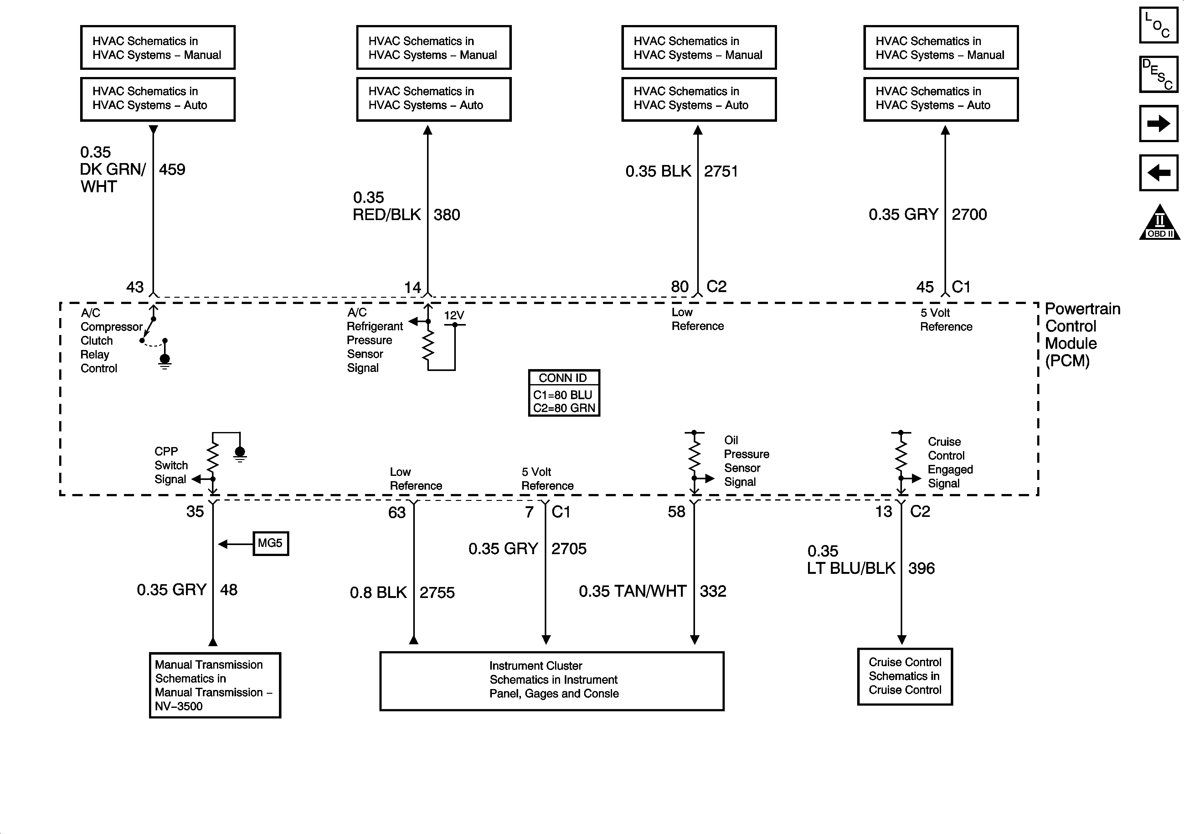
🢒 Controlled/Monitored Subsystem References 2 of 2
Controlled/Monitored Subsystem References 2 of 2
Controlled/Monitored Subsystem References - 2 of 2
Master Electrical Component List
Powertrain Control Module Description
Transmission Controls - A/T
Controlled/Monitored Subsystem References - 1 of 2
OBD II Symbol Description Notice
A/C Compressor Controls
A/C Compressor Controls
A/C Compressor Controls
A/C Compressor Controls
A/C Compressor Controls
A/C Compressor Controls
A/C Compressor Controls
A/C Compressor Controls
Manual Transmission Schematics
Gages
4.3L - 1 of 2