GM Service Manual Online
For 1990-2009 cars only
Makes
🢒
Chevrolet
🢒
2004
🢒
Chevy C Silverado - 2WD
🢒 4.3L - 1 of 2
4.3L - 1 of 2
4.3L - 1 of 2
Master Electrical Component List
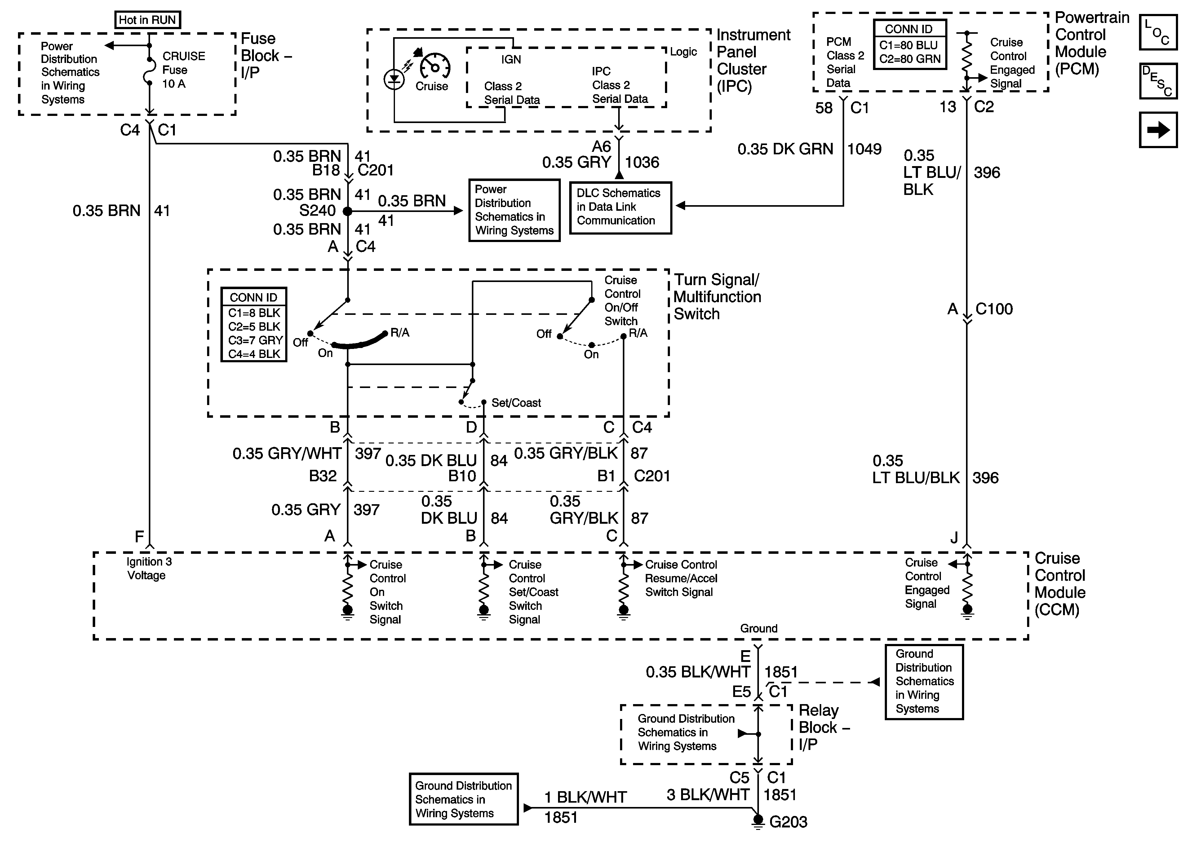
Cruise Control Description and Operation 4.3L
4.3L - 2 of 2
IGN 3, Cruise, and 4WD Fuses
IGN 3, Cruise, and 4WD Fuses
SP205 - 1 of 2
G203 - 1 of 3
G203 - 1 of 3
G203 - 1 of 3