GM Service Manual Online
For 1990-2009 cars only
Makes
🢒
Chevrolet
🢒
2004
🢒
Chevy C Silverado - 2WD
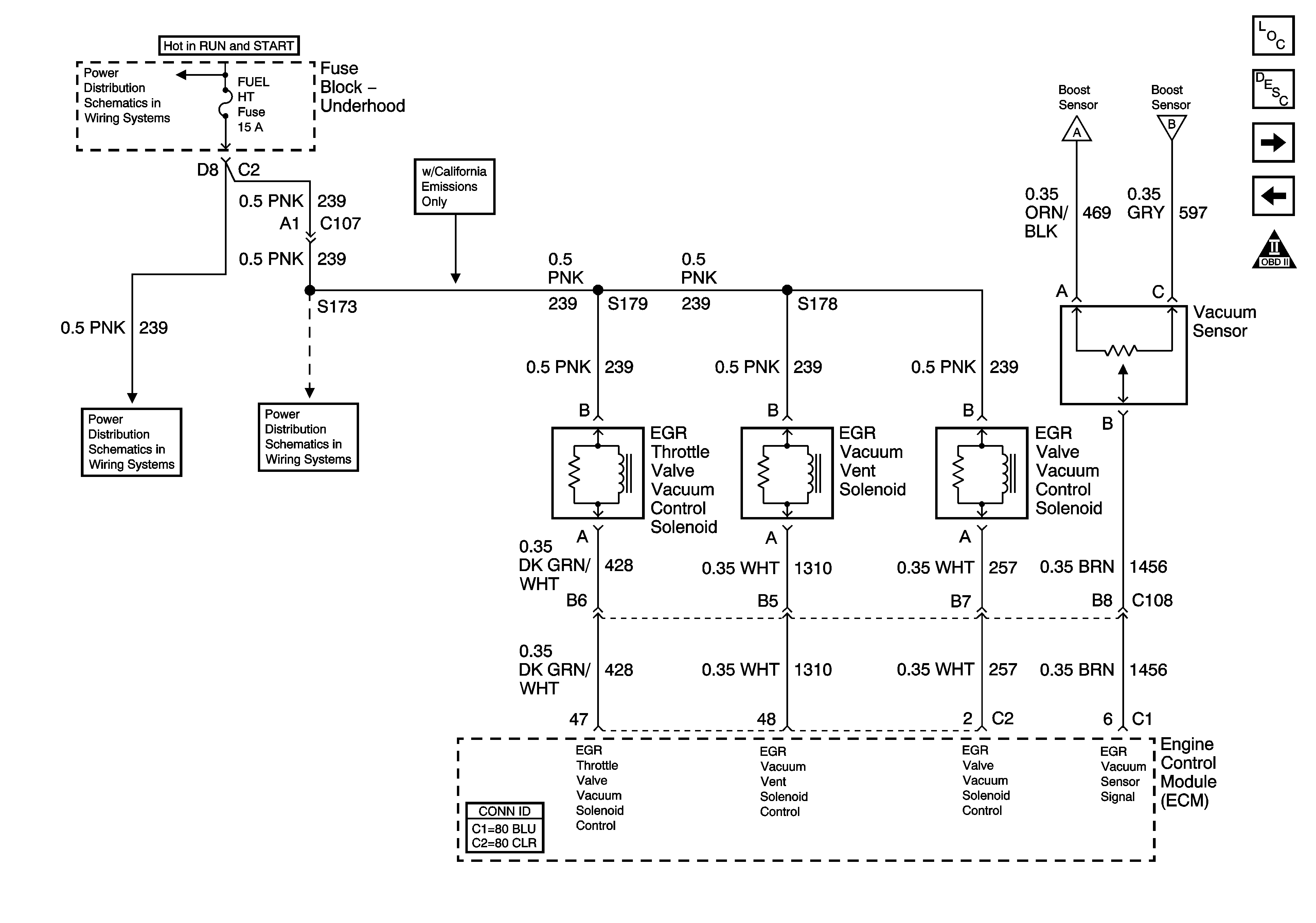
🢒 Engine Data Sensors - EGR and Vacuum
Engine Data Sensors - EGR and Vacuum
Engine Data Sensors - EGR and Vacuum
Master Electrical Component List
Powertrain Control Module Description
Engine Data Sensors - Pedal Position
Engine Data Sensors - Pressure and Temperature
Engine Controls Schematic Icons
Ignition Switch - ACC/RUN and RUN/START Bus Bars
Engine Data Sensors - Pressure and Temperature
Engine Data Sensors - Pressure and Temperature
FUEL HT and PCM I Fuses - Diesel
FUEL HT and PCM I Fuses - Diesel