GM Service Manual Online
For 1990-2009 cars only
Makes
🢒
Chevrolet
🢒
2004
🢒
Chevy C Silverado - 2WD
🢒 Transmission Controls - A/T
Transmission Controls - A/T
Transmission Controls - A/T
Master Electrical Component List
Powertrain Control Module Description
Controlled/Monitored Subsystem References
Engine Controls Schematic Icons
Speed Sensors
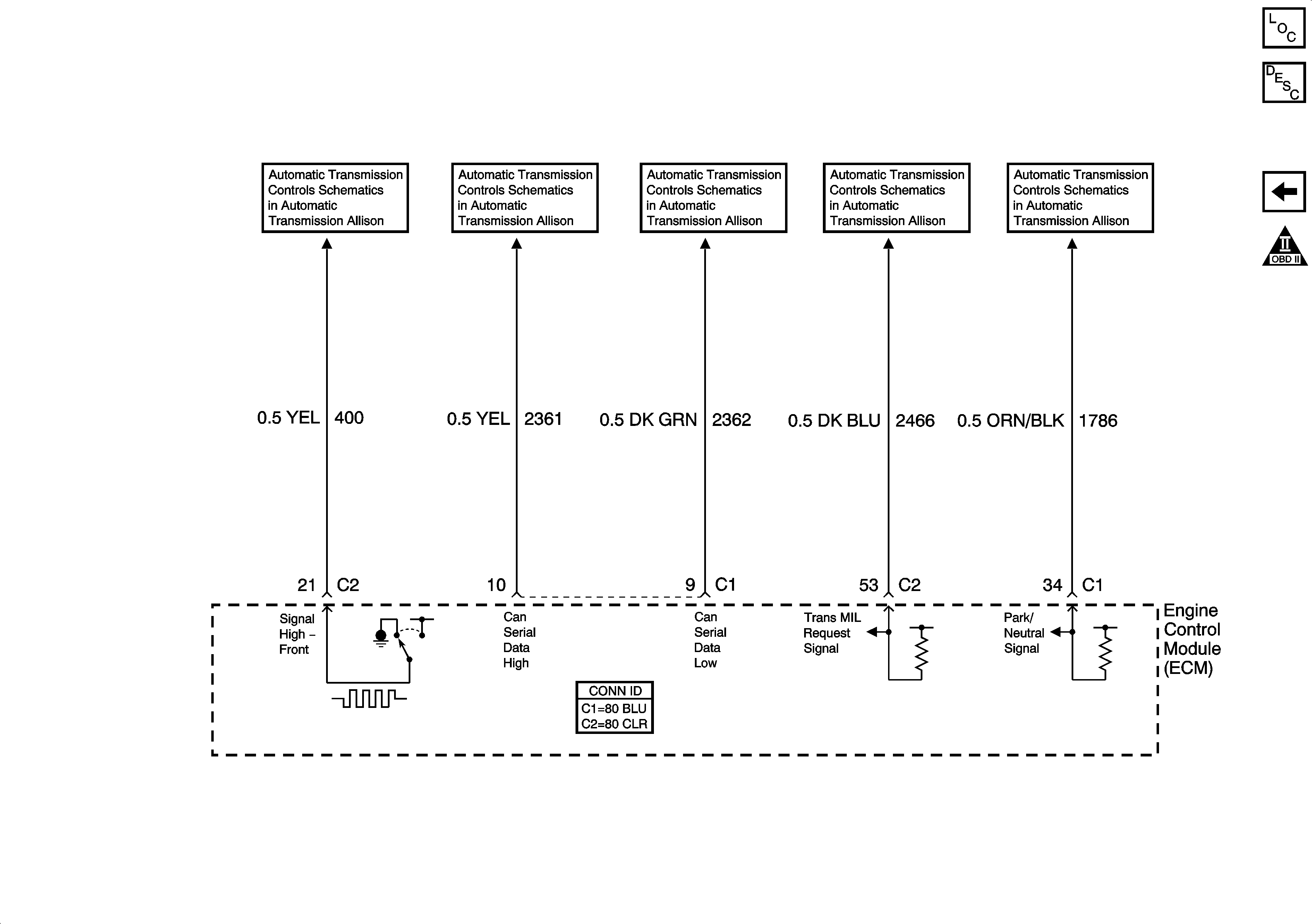
MIL Control, Serial Data and Torque Signals
MIL Control, Serial Data and Torque Signals
MIL Control, Serial Data and Torque Signals
Shift Solenoids and PNP Signals