GM Service Manual Online
For 1990-2009 cars only
Makes
🢒
Chevrolet
🢒
2005
🢒
Chevy K Silverado - 4WD
🢒 Controlled/Monitored Subsystem Reference
Controlled/Monitored Subsystem Reference
Controlled/Monitored Subsystem Reference
Master Electrical Component List
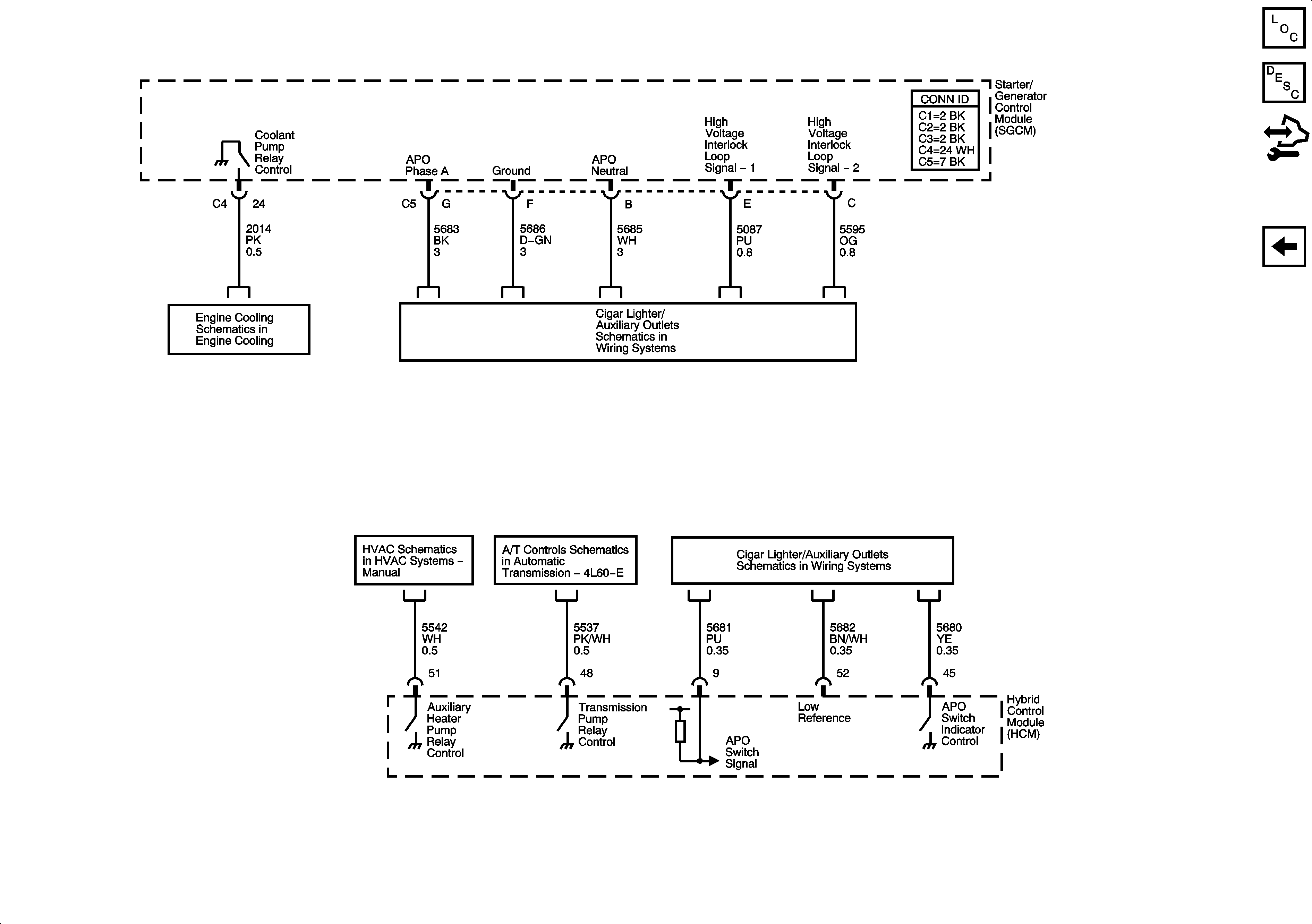
Starter/Generator Control Module Description and Operation
Control Module References
Starting - 2 of 2 and Energy Storage
HP2
120V AC Outlets (HP2) - 2 of 2
Auxiliary Heater Pump (HP2)
Auxiliary Pump Controls - HP2
120V AC Outlets (HP2) - 2 of 2