GM Service Manual Online
For 1990-2009 cars only
Makes
🢒
Chevrolet
🢒
2005
🢒
Chevy K Silverado - 4WD
🢒 Battery Schematics
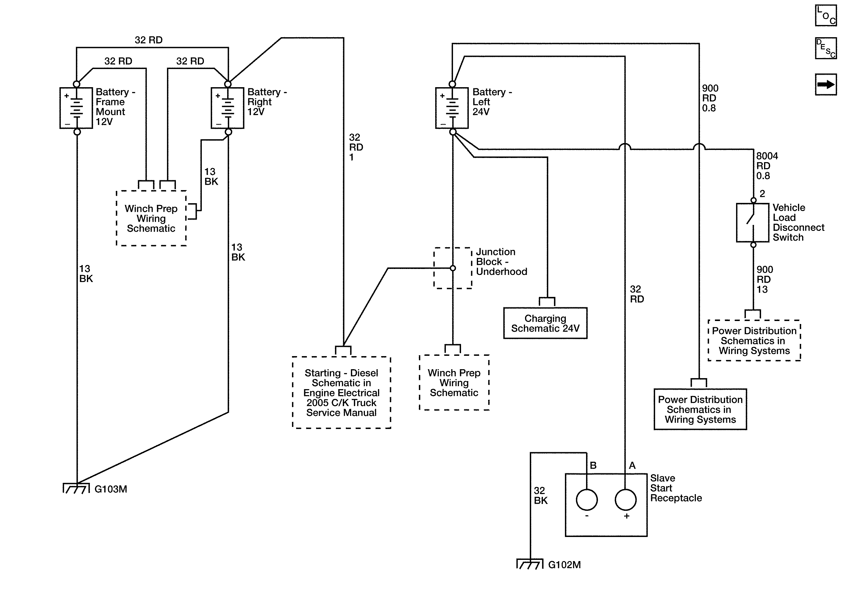
Battery Schematics
Battery Schematic
Master Electrical Component List
Battery Description and Operation (12V and 24V)
Charging Schematics - 12V
12V/24V
12V/24V