GM Service Manual Online
For 1990-2009 cars only
Makes
🢒
Chevrolet
🢒
1998
🢒
Chevy P42 Commercial Chassis
🢒 Cell 76
Cell 76
Cell 76
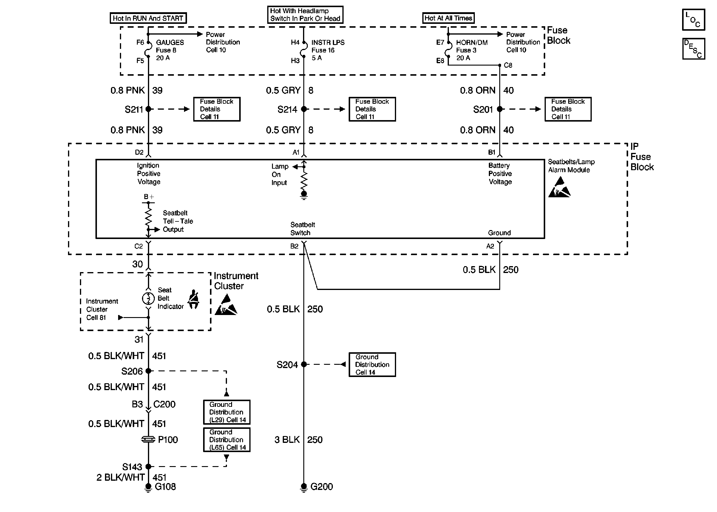
Audible Warnings Components P32
Audible Warnings Circuit Description
Cell 10: Ignition Switch and Fuse Block
Cell 10: Fuse Block
Cell 11: GAUGES and TRANS fuses
Cell 11: Wiper, Acc-Radio, Crank, Auto Apply, and Instr Lpsfuses
Cell 11: STOP-HAZ, TAIL LPS, and HORN DM fuses
Handling ESD Sensitive Parts Notice
Handling ESD Sensitive Parts Notice
Cell 14: G108 [L29]
Cell 14: G108 [L65]
Cell 14: G200