GM Service Manual Online
For 1990-2009 cars only
Makes
🢒
Chevrolet
🢒
1998
🢒
Chevy P42 Commercial Chassis
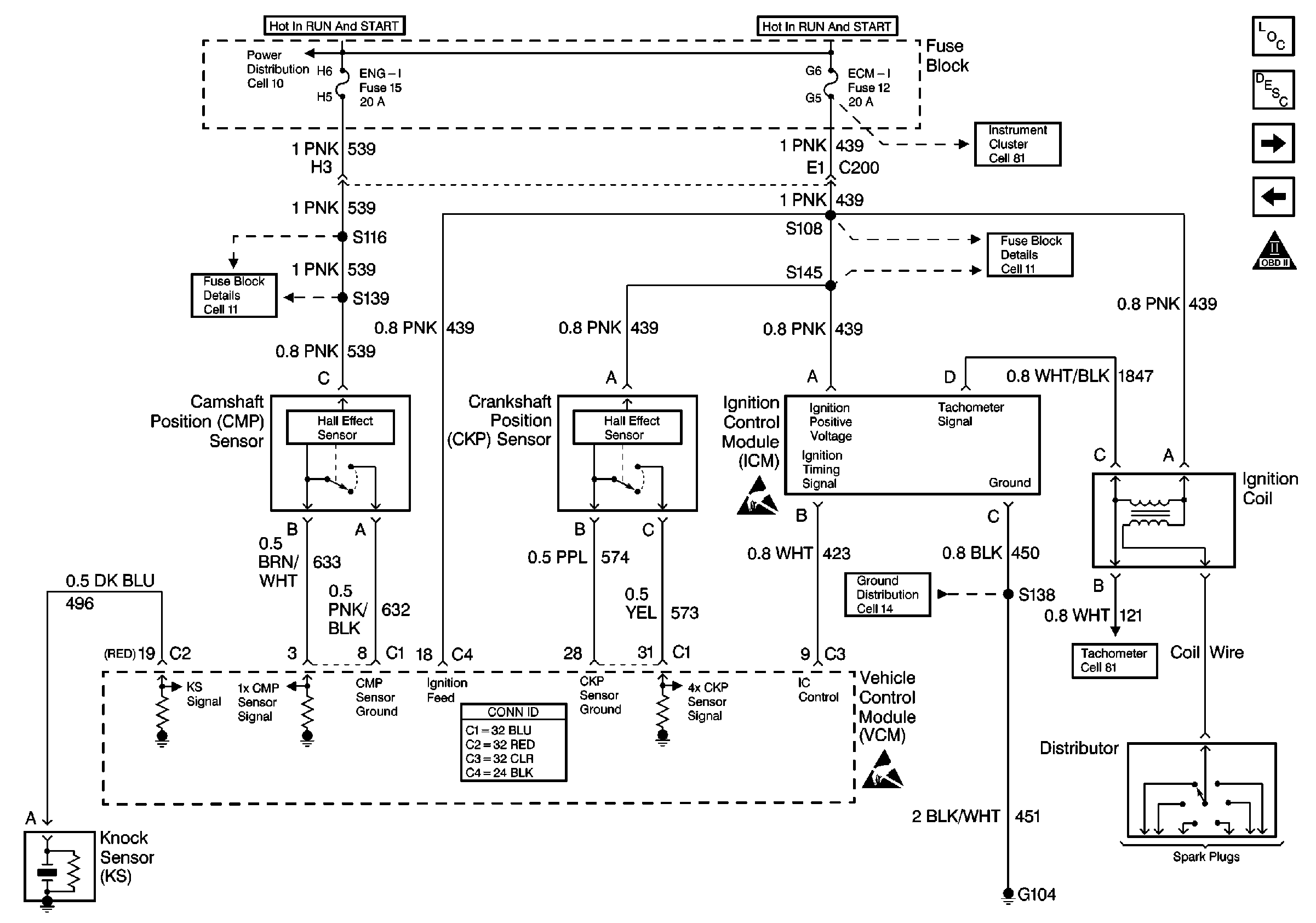
🢒 Cell 20 - Ignition System
Cell 20 - Ignition System
Cell 20 -- Ignition System
Engine Controls Components
Enhanced Ignition System Description
Cell 20: Fuel Controls - Fuel Pump
Cell 20: Power and Grounding
OBD II Symbol Description Notice
Cell 11: INSTR LPS, TRANS, and ENG-I fuses
Cell 10: Ignition Switch and Fuse Block
Handling ESD Sensitive Parts Notice
Cell 81: Gauges [L57]
Cell 11: ECM-I fuse [L35]
Cell 81: Gauges [L57]
Cell 14: G104 [L31/L35]
Handling ESD Sensitive Parts Notice