GM Service Manual Online
For 1990-2009 cars only
Makes
🢒
Chevrolet
🢒
2005
🢒
Classic
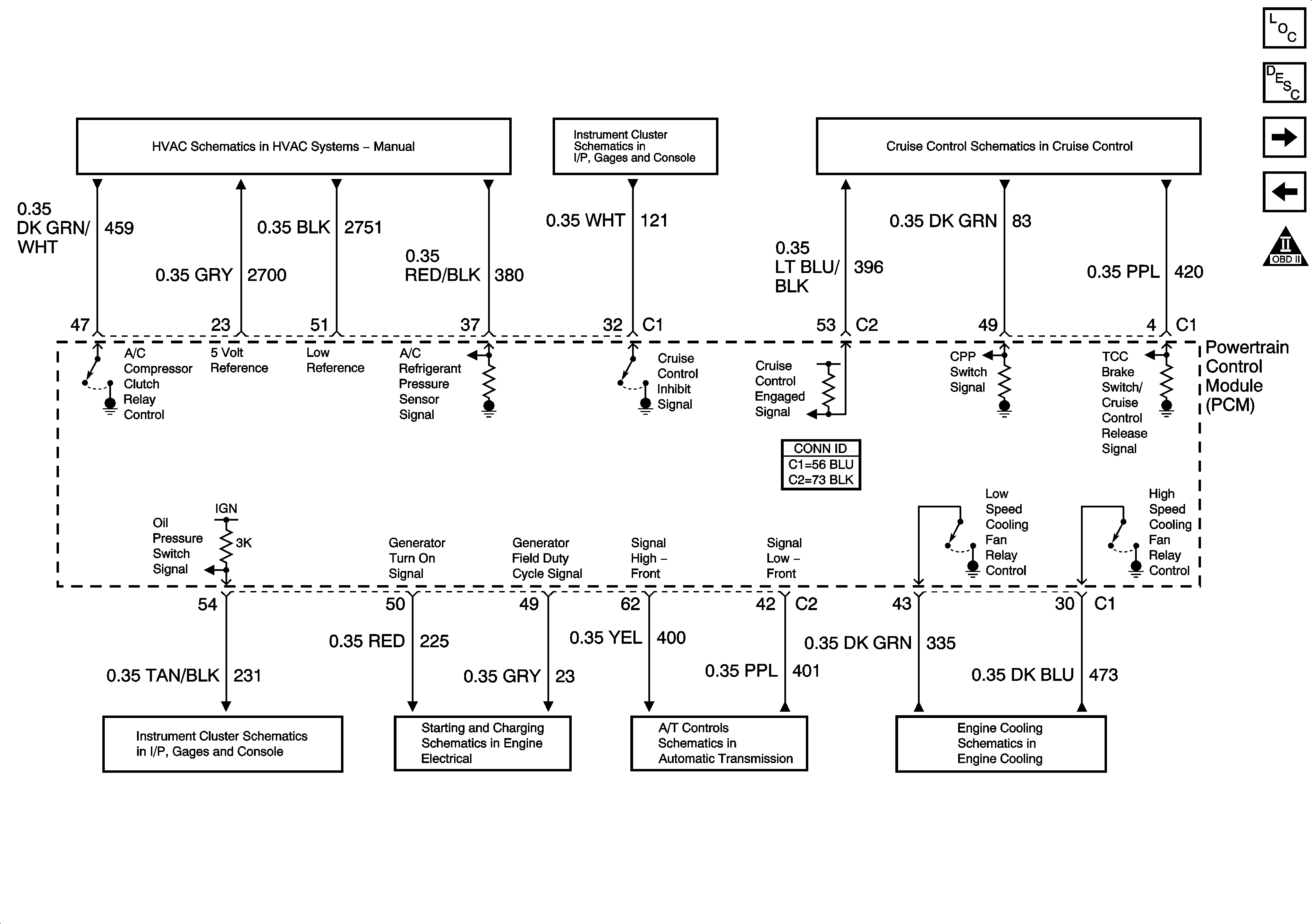
🢒 Controlled/Monitored Subsystem References
Controlled/Monitored Subsystem References
Controlled/Monitored Subsystem References
Master Electrical Component List
Powertrain Control Module Description
EVAP and IAC Controls
Transmission References
Engine Controls Schematic Icons
A/C Compressor Controls
Power and Grounds
Brake Switch and Inhibit Signals
Indicators and Communication
Charging System
Shift Solenoids
Cooling Fans