GM Service Manual Online
For 1990-2009 cars only
Makes
🢒
Chevrolet
🢒
2005
🢒
Colorado Pickup - 2WD
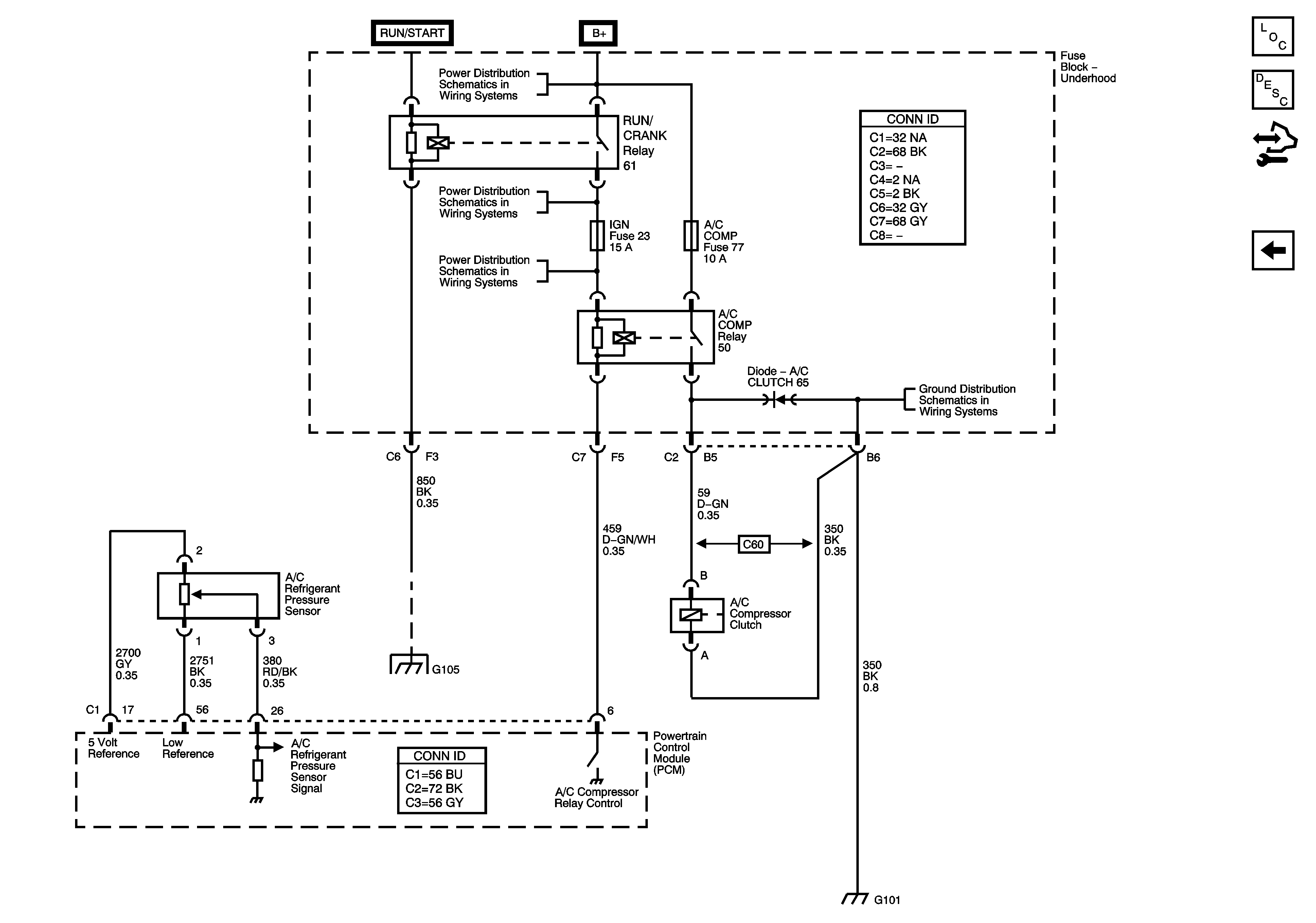
🢒 Compressor Controls - C60
Compressor Controls - C60
Compressor Controls - C60
Master Electrical Component List
Air Temperature Description and Operation
Primary Blower and Air Delivery Controls - C60/C42
RUN/CRANK Relay Bus - 1 of 3, CRUISE, SIR, and TRANS Fuses
RUN/CRANK Relay Bus - 2 of 3, ABS, BACKUP, and IGN Fuses
RUN/CRANK Relay Bus - 2 of 3, ABS, BACKUP, and IGN Fuses
G100, G104, G102, G103, and G101
Splice Pack SP105 and G105 - 1 of 2