GM Service Manual Online
For 1990-2009 cars only
Makes
🢒
Chevrolet
🢒
2005
🢒
Colorado Pickup - 2WD
🢒 Content Theft Deterrent
Content Theft Deterrent
Content Theft Deterrent
Master Electrical Component List
Vehicle Theft Deterrent (VTD) Description and Operation
Body Control Module (BCM) Programming/RPO Configuration
Vehicle Theft Deterrent
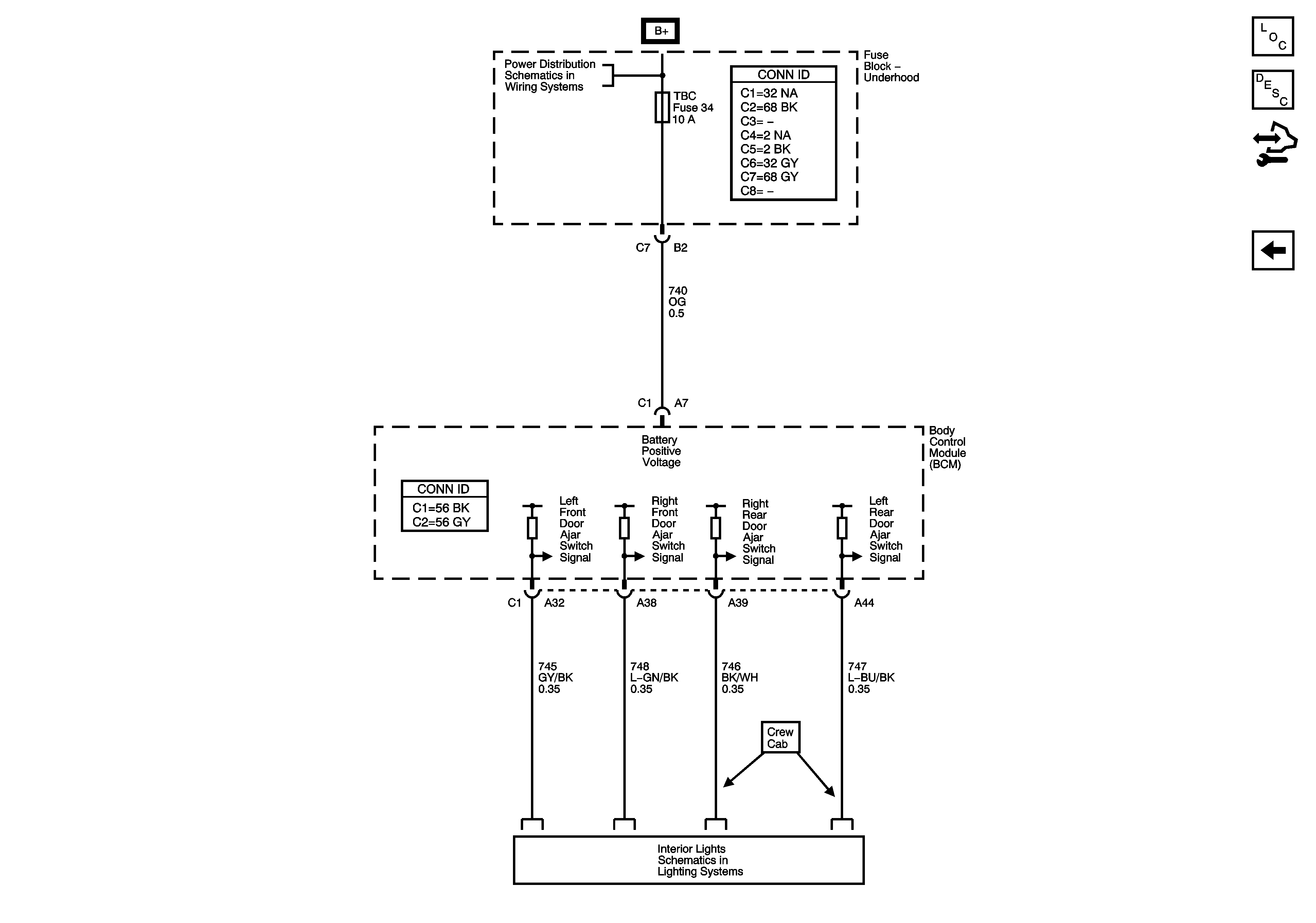
B+ Bus - Underhood Fuse Block
Door Jamb Switch