GM Service Manual Online
For 1990-2009 cars only
Makes
🢒
Chevrolet
🢒
2000
🢒
Corvette
🢒 Cell 20: Automatic Transmission Controls
Cell 20: Automatic Transmission Controls
Cell 20: Automatic Transmission Controls
Engine Controls Components
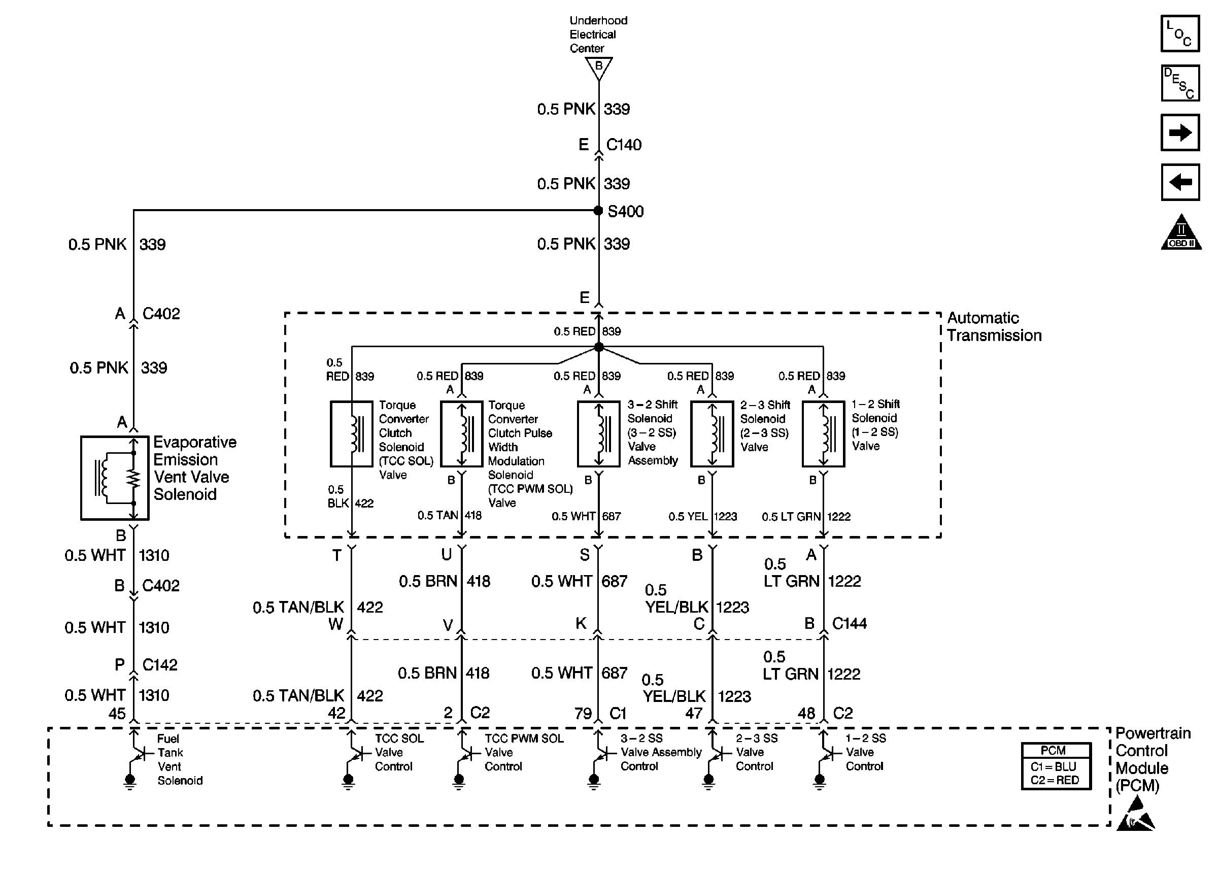
Cell 20: Automatic Transmission Controls and VSS Output
Cell 20: TCC Switch
OBD II Symbol Description Notice
Cell 20: TCC Switch
Powertrain Control Module Connector End Views
Handling ESD Sensitive Parts Notice