GM Service Manual Online
For 1990-2009 cars only
Makes
🢒
Chevrolet
🢒
2000
🢒
Corvette
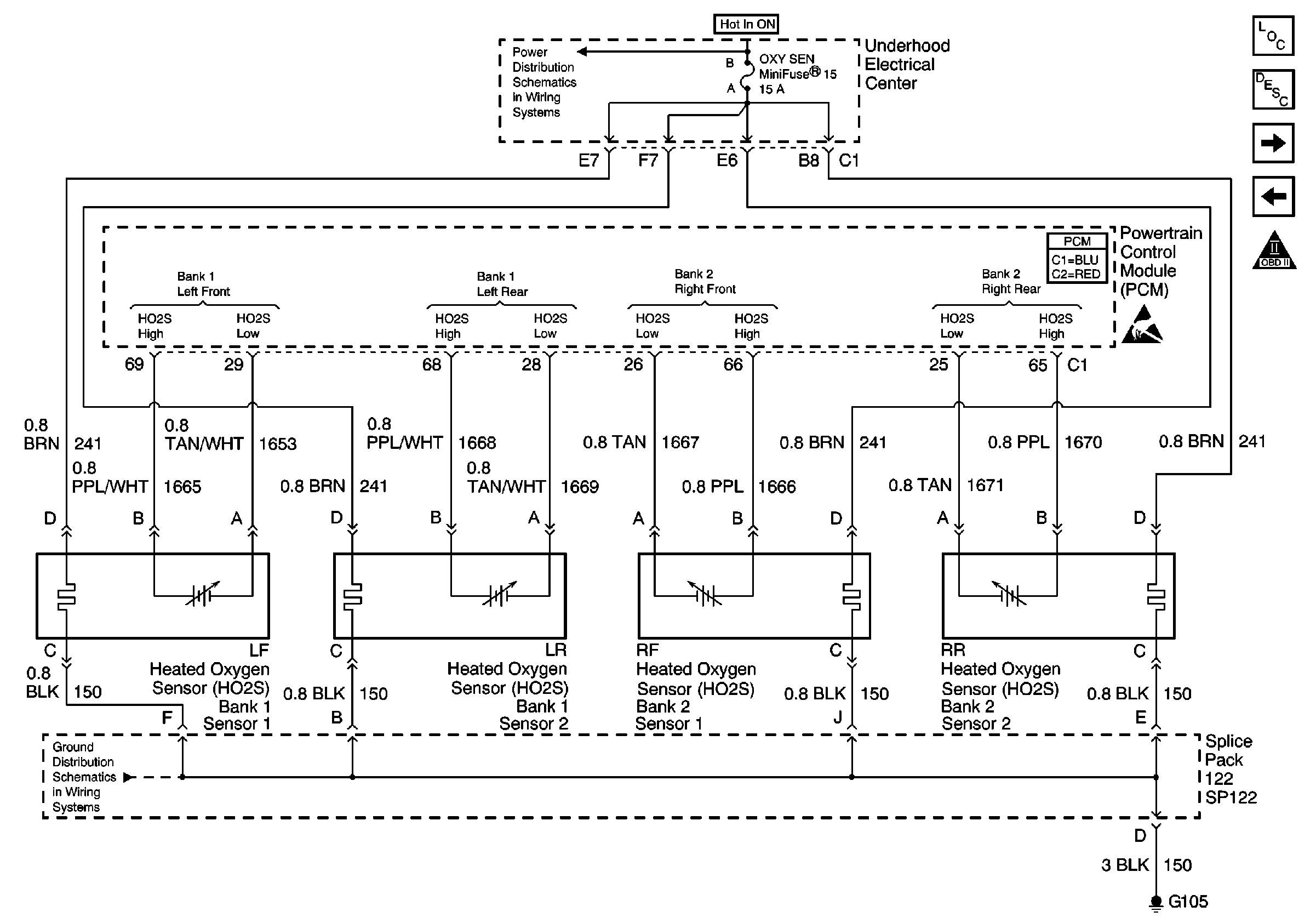
🢒 Heated Oxygen Sensors (HO2S)
Heated Oxygen Sensors (HO2S)
Heated Oxygen Sensors (HO2S)
Engine Controls Components
EVAP and AIR
Engine Data Sensors
OBD II Symbol Description Notice
Power Distribution Schematics
Ground Distribution Schematics