GM Service Manual Online
For 1990-2009 cars only

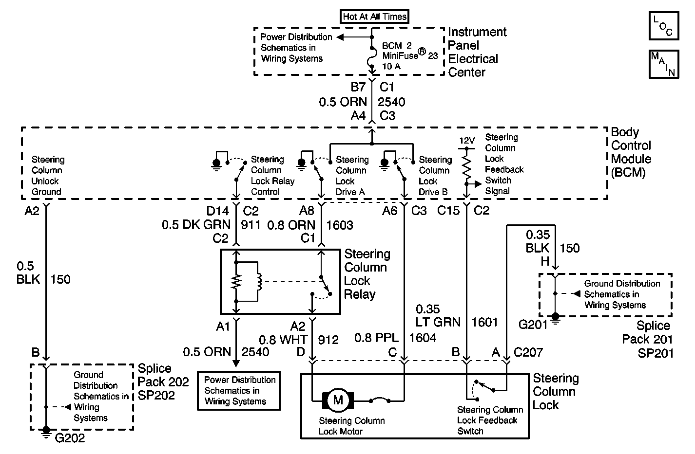
Object Number: 538645  Size: LF
Power and Grounding Components
Body Control System Schematics
Ground Distribution Schematics
Cell 10: I/P Fuses 25, 23, 29, Relay 42
Power Distribution Schematics
Ground Distribution Schematics

Circuit Description

The BCM provides the steering column control function which allows the column to be electronically locked or unlocked. The BCM provides two outputs, column lock drive (A) and column lock drive (B) and a steering column lock relay control output. The BCM can apply a ground or battery output on the column lock drive (A) or column lock drive (B) depending on the desired steering column lock motor position. The BCM uses the feedback switch in order to monitor the motor position and determine if the commanded position was accomplished.

The BCM controls the position of the steering column lock motor based on the following input information:

    • Ignition position
    • Key IN ignition status
    • Key OUT of ignition status
    • Steering column lock feedback switch
    • PASS-Key® system
    • PCM password information
    • System voltage

The BCM also monitors its circuitry for the column lock drive (B) circuit. If the BCM detects a malfunction present a DTC will set.

Conditions for Setting the DTC

    • The BCM detects an internal malfunction (an open or a short to ground) in the column lock drive (B) circuit.
    • There is and open in the BCM battery positive voltage circuit from fuse #23.
    • The condition must be present for 100 ms.

Action Taken When the DTC Sets

    • Stores a DTC B2592 in the BCM memory.
    • The PCM may disable fuel if vehicle speed is detected over 2.4 km/h (1.5 mph).
    • Sends a message to the IPC to display the SERVICE COLUMN LOCK message.

Conditions for Clearing the DTC

    • The BCM no longer detects an internal malfunction (an open or a short to ground) in the column lock drive (B) circuit.
    • Supply voltage is available on the battery positive voltage circuit from fuse #23.
    • A history DTC will clear after 50 consecutive ignition cycles if the condition for the malfunction is no longer present.
    • Use the IPC clearing DTCs feature.
    • Use a scan tool.

Diagnostic Aids

    • The following conditions may cause an intermittent malfunction:
       - There is an intermittent open in BCM battery positive voltage circuit from fuse #23.
       - The steering column lock drive (A or B) are shorted together or to ground.
    • A short to ground in the BCM battery positive voltage circuit will cause BCM fuse #23 to open. The BCM receives supply voltage for the steering column lock motor through the BCM battery positive voltage circuit. If the BCM is unable to supply voltage to the steering column lock motor through the BCM battery positive voltage circuit, the BCM will set a DTC B2592.
    • Disconnecting or opening the steering column lock feedback circuit with the ignition in the ON position will cause the BCM to enter a Fail Enable Standby mode. The steering column will remain inoperative until the Fail Enable Standby mode is cleared. To clear this mode, disconnect the BCM fuse #25 for 15 seconds.
    • The BCM fuse #23 will become open if the steering column lock motor or the lock drive (A or B) circuits are shorted together or to ground.
    • If the DTC is a history DTC, the problem may be intermittent. Perform the tests shown while moving related wiring and connectors. This can often cause the malfunction to occur.

Test Description

The number(s) below refer to the step number(s) on the diagnostic table.

  1. Tests for an open in the BCM fuse #23). BCM fuse #23 supplies power to the BCM to operate the steering column lock motor.

  2. Tests for an open in the BCM battery positive voltage (fuse #23) circuit.

  3. Tests for an open or short to ground in the BCM battery positive voltage (fuse #23) circuit.

  4. Tests for an open or short to ground in the steering column lock drive A or B circuit. If steering column lock drive A or B circuit is shorted to ground BCM fuse #23 to open.

  5. When the BCM is replaced, use a scan tool to perform the BCM RPO Reprogram procedure. Refer to Body Control Module (BCM) Programming/RPO Configuration .

Step

Action

Value(s)

Yes

No

1

Did you perform the BCM Diagnostic System Check?

--

Go to Step 2

Go to Diagnostic System Check - Body Control System

2

Test BCM fuse #23 for an open.

Did you find the fuse open?

--

Go to Step 4

Go to Step 3

3

  1. Turn OFF the ignition.
  2. Disconnect the BCM connectors.
  3. Turn ON the ignition, with the engine OFF.
  4. Probe the BCM battery positive voltage circuit (fuse #23) at the BCM connector with a test lamp that is connected to a good ground.

Does the test lamp illuminate?

--

Go to Step 6

Go to Step 4

4

Test the BCM battery positive voltage circuit (fuse #23) for an open or short to ground. Refer to Circuit Testing and Wiring Repairs in Wiring Systems.

Did you find and correct the condition?

--

Go to Step 9

Go to Step 5

5

Test the steering column lock drive A and B circuits for a short to ground. Refer to Circuit Testing and Wiring Repairs in Wiring Systems.

Did you find and correct the condition?

--

Go to Step 9

Go to Step 7

6

Inspect for poor connections at the harness connector of the BCM. Refer to Testing for Intermittent Conditions and Poor Connections and Connector Repairs in Wiring Systems.

Did you find and correct the condition?

--

Go to Step 9

Go to Step 8

7

Replace the steering column lock motor. Refer to Electronic Column Lock Module Replacement - On Vehicle in Steering.

Did you complete the replacement?

--

Go to Step 9

--

8

Important: Perform the BCM RPO Reprogram procedure. Refer to Body Control Module (BCM) Programming/RPO Configuration .

Replace the BCM. Refer to Body Control Module Replacement .

Did you complete the replacement?

--

Go to Step 9

--

9

  1. Use the scan tool in order to clear the DTCs .
  2. Clear the BCM steering column lock fail enable mode by disconnecting BCM fuse #25 for 15 seconds.
  3. Operate the vehicle within the Conditions for Setting the DTC as specified in the supporting text.

Does the DTC reset?

--

Go to Step 2

System OK