GM Service Manual Online
For 1990-2009 cars only

Circuit Description

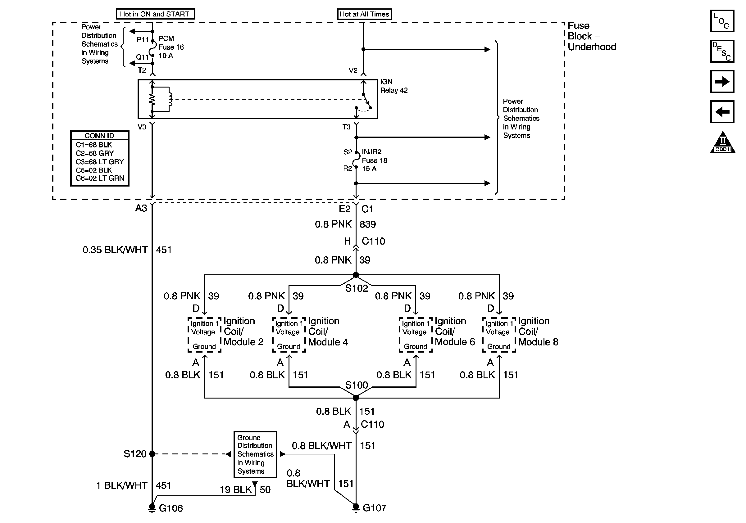
The electronic ignition system uses an individual ignition coil for each cylinder. The powertrain control module (PCM) controls the ignition operation through eight individual ignition control (IC) circuits. Each bank of four ignition coils is connected to the PCM, power, or ground by the following circuits:

    • Low reference
    • Chassis ground
    • Ignition 1 voltage
    • The appropriate IC circuit

The PCM triggers an ignition coil by grounding the appropriate IC circuit using information from the crankshaft position (CKP) and camshaft position (CMP) sensors.

Diagnostic Aids

Important: 

   • Remove any debris from the PCM connector surfaces before servicing the PCM. Inspect the PCM connector gaskets if you diagnose or replace the PCM. Verify that the gaskets are installed correctly. The gaskets prevent water intrusion into the PCM.
   • For any test that requires probing the PCM or component harness connectors, use the Connector Test Adapter Kit J 35616 . Using this kit prevents any damage to the harness connector terminals. Refer to Using Connector Test Adapters in Wiring Systems.

Using the Freeze Frame/Failure Records may aid in locating an intermittent condition. If you cannot duplicate the condition, the information included in the Freeze Frame/Failure Records can help determine how many miles were driven since the condition occurred. Operate vehicle within the same Freeze Frame conditions which failed the test in the previous ignition cycle.

Inspect for the following conditions:

    • The load
    • The RPM
    • The temperature

For an intermittent condition, refer to Intermittent Conditions .

Test Description

The numbers below refer to the step numbers on the diagnostic table.

  1. Monitoring the Misfire Current Counters determines if a fault is present.

  2. A good indication that the fuse is open is more than 2 of the Misfire Current Counters are incrementing on one side of the engine. Inspect the ignition 1 voltage circuit for a grounded circuit.

  3. If the fuse is open and no condition can be found with the ignition coil module circuits, inspect the injector circuits for being grounded.

Step

Action

Yes

No

Schematic Reference:

Ignition Coil/Modules 2, 4, 6 and 8 Power and Ground


Object Number: 687880  Size: FS
Master Electrical Component List
Powertrain Control Module Description
Ignition Coil/Modules 1, 3, 5 and 7 Power and Ground
Fuel Injectors 1, 3, 5 and 7
OBD II Symbol Description Notice
Underhood Electrical Center Fuses 14, 13, 16, 15, 5 and Relays 43,44, 35 and 42
G106 and G105
Underhood Electrical Center Bussing (2 of 2)

1

Did you perform the Diagnostic System Check-Engine Controls?

Go to Step 2

Go to Diagnostic System Check - Engine Controls

2

Are any of these DTCs set: P0200, P0300, P0335, P0336, P0351-P0358?

Go to Diagnostic Trouble Code (DTC) List

Go to Step 3

3

Important: This diagnostic test assumes that there are not any injector circuit malfunctions or mechanical malfunctions. If you were not referred to this diagnostic test from DTC P0300, refer DTC P0300 to before proceeding with this table.

If more than 1 cylinder is misfiring on 1 side of the engine, inspect the ignition coil module ground circuit for an open.

  1. Install a scan tool.
  2. Idle the engine.
  3. Using a scan tool, monitor all the Misfire Current counters on the misfire data list. There are a total of 8 counters, 1 counter per cylinder.

Do any of the Misfire Current counters increment?

Go to Step 4

Go to Intermittent Conditions

4

Do the Misfire Current Counters increment for 2 or more cylinders on 1 bank of the engine?

Go to Step 8

Go to Step 5

5

  1. Turn OFF the ignition.
  2. Disconnect the electrical harness connector of the ignition coil that corresponds to the Misfire Current Counters which was incrementing.
  3. Turn ON the ignition, with the engine OFF.
  4. Connect a test lamp to the battery ground and probe the ignition voltage 1 circuit. Refer to Probing Electrical Connectors in Wiring Systems.

Does the test lamp illuminate?

Go to Step 6

Go to Step 10

6

Using the test lamp probe the ignition 1 voltage circuit at the electrical connector of the ignition coil to the ignition coil ground circuit.

Does the test lamp illuminate?

Go to Step 7

Go to Step 13

7

Connect the test lamp and probe the ignition 1 voltage circuit to the low reference circuit of the ignition coil.

Does the test lamp illuminate?

Go to Step 21

Go to Step 17

8

  1. Inspect for an open ignition coil fuse.
  2. Locate and repair the ignition 1 voltage circuit for grounded circuit if the fuse is open. Refer to Wiring Repairs in Wiring Systems.
  3. Replace the fuse.

Did you find and correct the condition?

Go to Step 23

Go to Step 9

9

Repair the open in the ignition 1 voltage circuit between the fuse block and the splice. Refer to Wiring Repairs in Wiring Systems.

Did you complete the repair?

Go to Step 23

--

10

  1. Disconnect the 8-way connector of the main ignition coils.
  2. Connect the test lamp to the battery ground, on the fuse side of harness.
  3. Probe the ignition 1 voltage circuit. Refer to Probing Electrical Connectors in Wiring Systems.

Does the test lamp illuminate?

Go to Step 11

Go to Step 12

11

Repair the open circuit between the main 8-way harness connector and the ignition coil connector. Refer to Wiring Repairs in Wiring Systems.

Did you complete the repair?

Go to Step 23

--

12

Repair the open ignition 1 voltage circuit between the fuse block, the open fuse, and the 8-way harness connector of the ignition coils. Refer to Wiring Repairs in Wiring Systems.

Did you complete the repair?

Go to Step 23

--

13

  1. Disconnect the 8-way connector of the ignition coils.
  2. Connect the test lamp in order to probe the ignition 1 voltage circuit to the ground circuit of the ignition coils. Refer to Probing Electrical Connectors in Wiring Systems.

Does the test lamp illuminate?

Go to Step 14

Go to Step 16

14

  1. Inspect for a faulty connection at the 8-way connector of the ignition coils. Refer to Testing for Intermittent Conditions and Poor Connections in Wiring Systems.
  2. Repair any faulty connections as necessary. Refer to Connector Repairs in Wiring Systems.

Did you find and correct the condition?

Go to Step 23

Go to Step 15

15

Repair the open ground circuit between the main 8-way connector and the ignition coil connector. Refer to Wiring Repairs in Wiring Systems.

Did you complete the repair?

Go to Step 23

--

16

Repair the open ground circuit between the ground and the main 8-way connector. Refer to Wiring Repairs in Wiring Systems.

Did you complete the repair?

Go to Step 23

--

17

  1. Disconnect the 8-way connector of the ignition coils.
  2. Connect the test lamp in order to probe the ignition 1 voltage circuit at the 8-way connector of the ignition coil to the low reference circuit of the ignition coils.

Does the test lamp illuminate?

Go to Step 18

Go to Step 20

18

  1. Inspect for a faulty connection at the 8-way connector of the ignition coils. Refer to Testing for Intermittent Conditions and Poor Connections in Wiring Systems.
  2. If a faulty connection is found, repair the connection as necessary. Refer to Connector Repairs in Wiring Systems.

Did you find and correct the condition?

Go to Step 23

Go to Step 19

19

Repair the open low reference circuit between the main 8-way connector and the ignition coil connector. Refer to Wiring Repairs in Wiring Systems.

Did you complete the repair?

Go to Step 23

--

20

Repair the open low reference circuit between the PCM and the splice. Refer to Wiring Repairs in Wiring Systems.

Did you complete the repair?

Go to Step 23

--

21

  1. Inspect for faulty connections at the ignition coil harness connector. Refer to Testing for Intermittent Conditions and Poor Connections in Wiring Systems.
  2. Repair faulty connections as necessary. Refer to Connector Repairs in Wiring Systems.

Did you find and correct the condition?

Go to Step 23

Go to Step 22

22

Replace the ignition coil. Refer to Ignition Coil Replacement .

Did you complete the replacement?

Go to Step 23

--

23

  1. Remove all test equipment except the scan tool.
  2. Connect any disconnected components.
  3. Turn the ignition OFF for 30 seconds.
  4. Start the engine and operate the vehicle.
  5. Observe the MIL, the vehicle performance, and the driveability.

Does the vehicle operate normally, with no MIL illumination and no stored DTCs?

System OK

Go to Diagnostic Trouble Code (DTC) List