GM Service Manual Online
For 1990-2009 cars only
Makes
🢒
Chevrolet
🢒
2001
🢒
Corvette
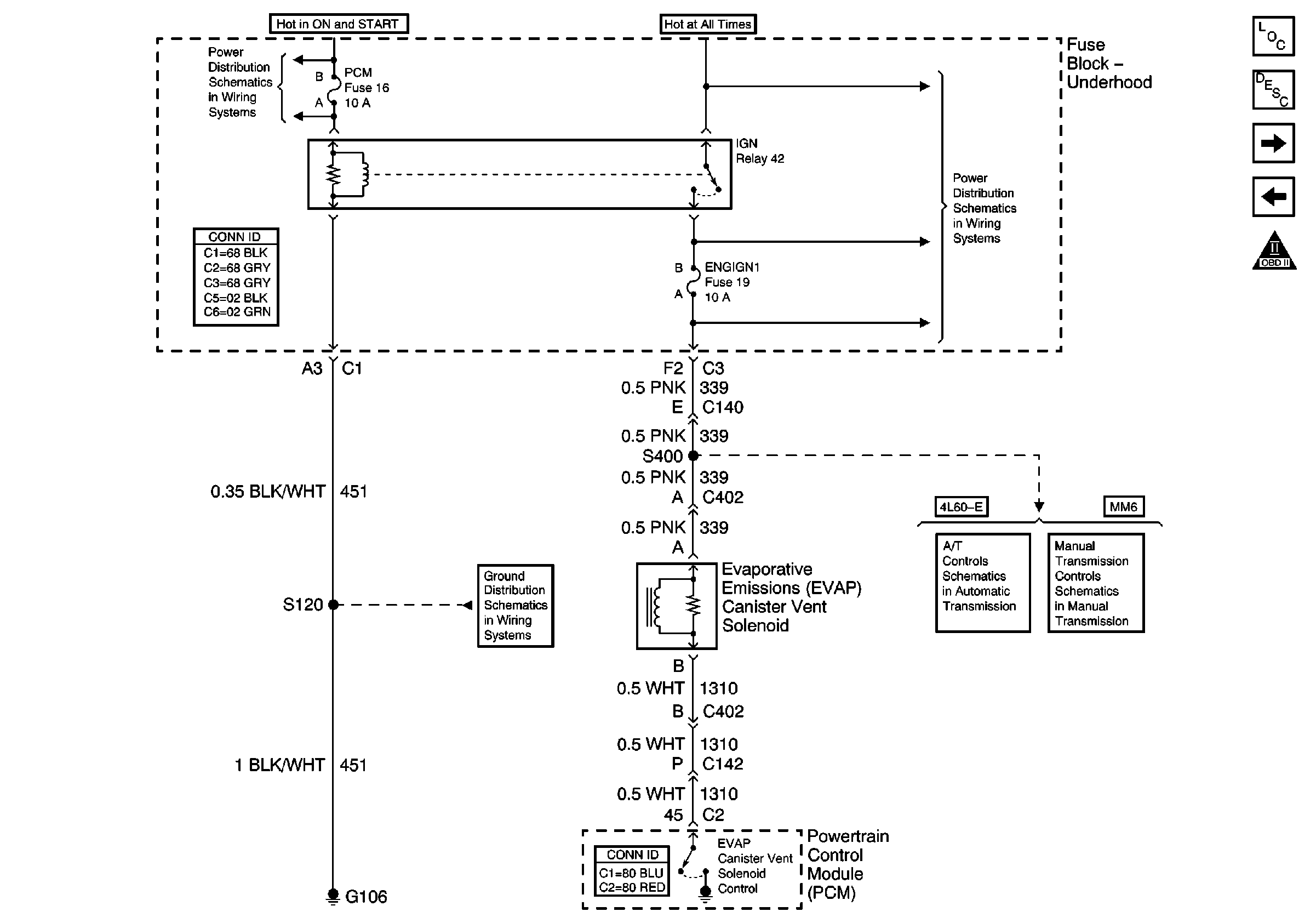
🢒 Evaporative Emission (EVAP) Vent Valve Solenoid
Evaporative Emission (EVAP) Vent Valve Solenoid
Evaporative Emission (EVAP) Vent Valve Solenoid
Master Electrical Component List
Fuel System Description
Mass Air Flow (MAF) Sensor and Extended Brake Travel Signal
AIR System and Evaporative Emission (EVAP) Canister Purge Valve
OBD II Symbol Description Notice
Underhood Electrical Center Fuses 14, 13, 16, 15, 5 and Relays 43,44, 35 and 42
G106 and G105
Underhood Electrical Center Bussing (2 of 2)
Transmission Valve Controls
01 Y-Car: Manual Transmission Schematics