GM Service Manual Online
For 1990-2009 cars only
Makes
🢒
Chevrolet
🢒
2001
🢒
Corvette
🢒 CJ2
CJ2
CJ2
Master Electrical Component List
Rear Window Defogger Description and Operation
C60
Star Connectors
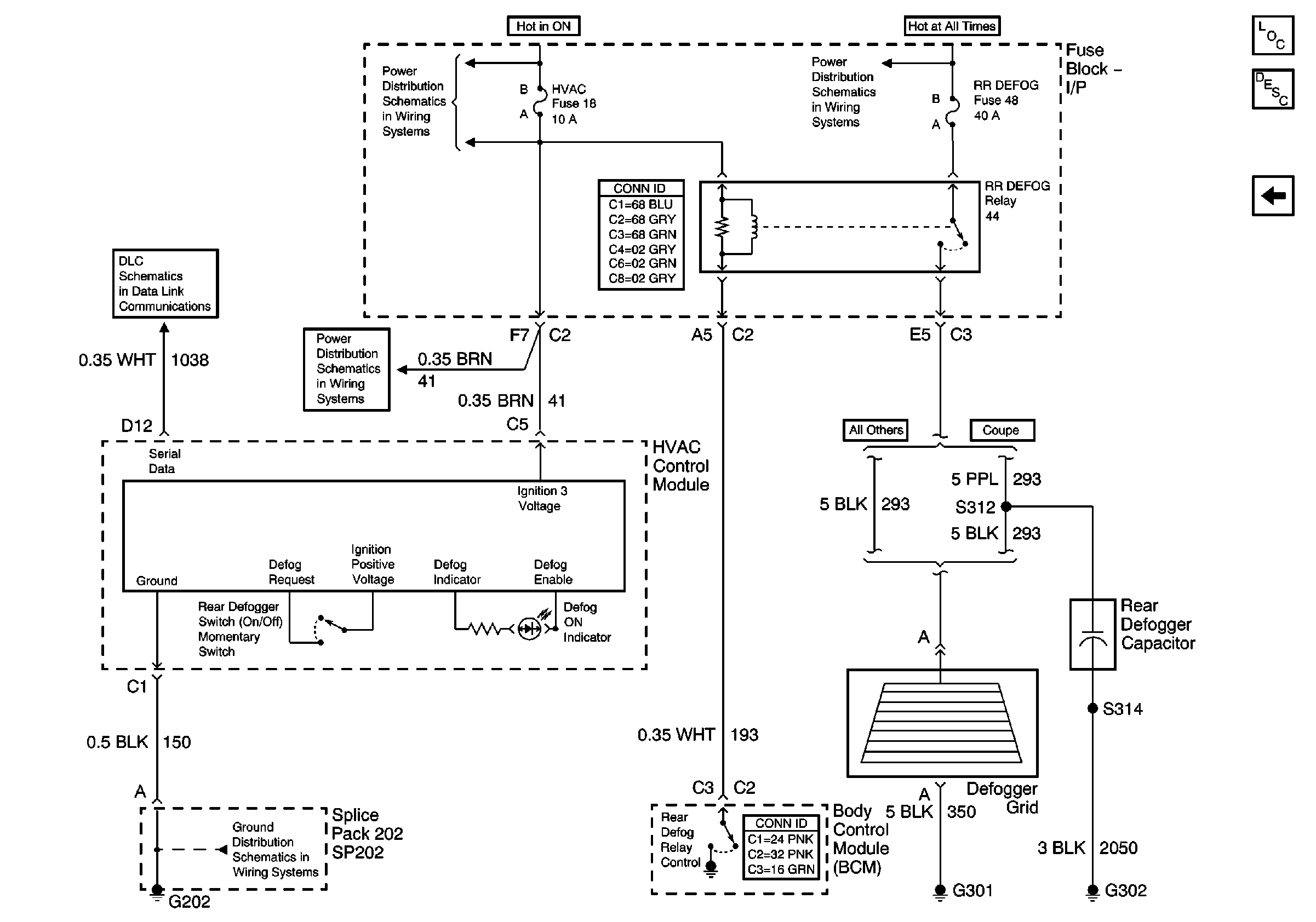
Instrument Panel Electrical Center Fuses 50, 14, 21, 22, 18, Relay 44, and the Ignition Switch (2 of 2)
Instrument Panel Electrical Center Fuses 50, 14, 21, 22, 18, Relay 44, and the Ignition Switch (2 of 2)
G202
Instrument Panel Electrical Center Bussing (2 of 2)