GM Service Manual Online
For 1990-2009 cars only
Makes
🢒
Chevrolet
🢒
2002
🢒
Corvette
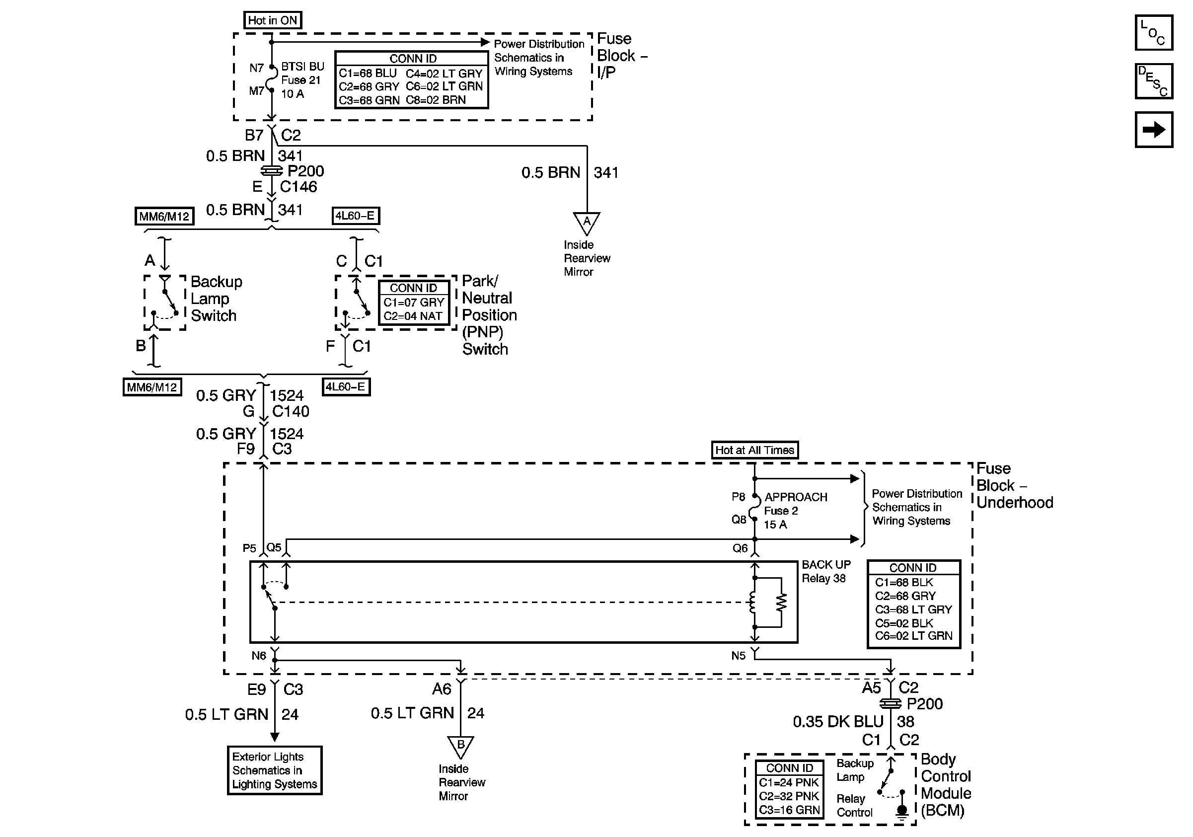
🢒 Backup Lamp Signal
Backup Lamp Signal
Backup Lamp Signal
Master Electrical Component List
Automatic Day-Night Mirror Description and Operation
Headlight and Photo Sensors
Instrument Panel Electrical Center Fuses 50, 14, 21, 22, 18, Relay 44, and the Ignition Switch (2 of 2)
Instrument Panel Electrical Center Fuses 50, 14, 21, 22, 18, Relay 44, and the Ignition Switch (2 of 2)
Backup Lamp Control
Headlight and Photo Sensors
Underhood Electrical Center Bussing (1 of 2)