GM Service Manual Online
For 1990-2009 cars only
Makes
🢒
Chevrolet
🢒
2004
🢒
Corvette
🢒 Fuel Controls - Fuel Pump Controls
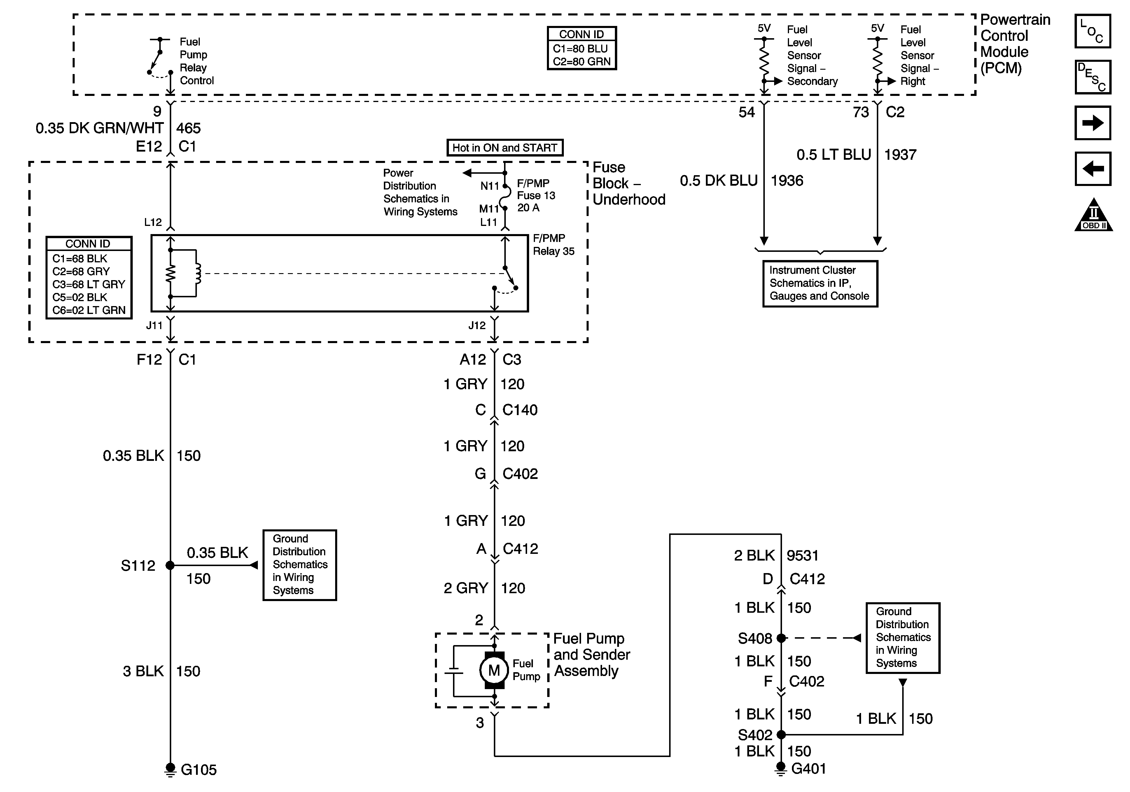
Fuel Controls - Fuel Pump Controls
Fuel Controls - Fuel Pump Controls
Master Electrical Component List
Fuel System Description with FFS
Fuel Controls - Fuel Injectors 1,3,5,7
Ignition Controls - Sensors
Engine Controls Schematic Icons
Fuse Block-Underhood Fuses 14, 13, 16, 15, 5 and Relays 43, 44, 35 and 42
Temperature, Fuel Level and Oil Pressure Gauges
G106 and G105
G401