GM Service Manual Online
For 1990-2009 cars only
Makes
🢒
Chevrolet
🢒
2004
🢒
Corvette
🢒 Fuel Controls - Evap Controls
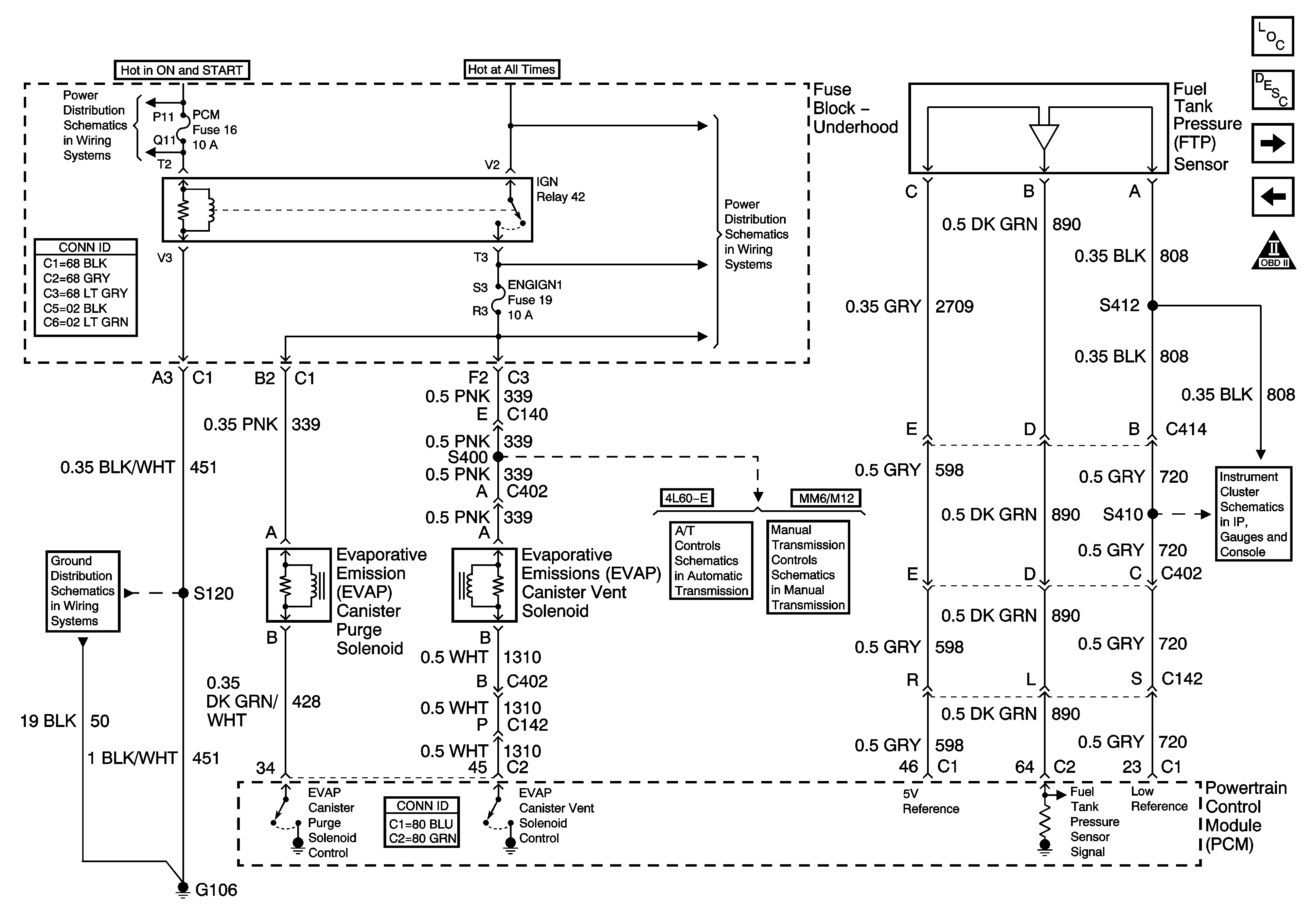
Fuel Controls - Evap Controls
Fuel Controls -- EVAP Controls
Master Electrical Component List
Evaporative Emission Control System Description
Device Controls
Fuel Controls - Fuel Injectors 2,4,6,8
Engine Controls Schematic Icons
Fuse Block-Underhood Fuses 14, 13, 16, 15, 5 and Relays 43, 44, 35 and 42
Fuse Block-Underhood Bussing (2 of 2)
G106 and G105
Transmission Valve Controls
Solenoid Controls and TFT Sensor
Temperature, Fuel Level and Oil Pressure Gauges