GM Service Manual Online
For 1990-2009 cars only
Makes
🢒
Chevrolet
🢒
1998
🢒
Express
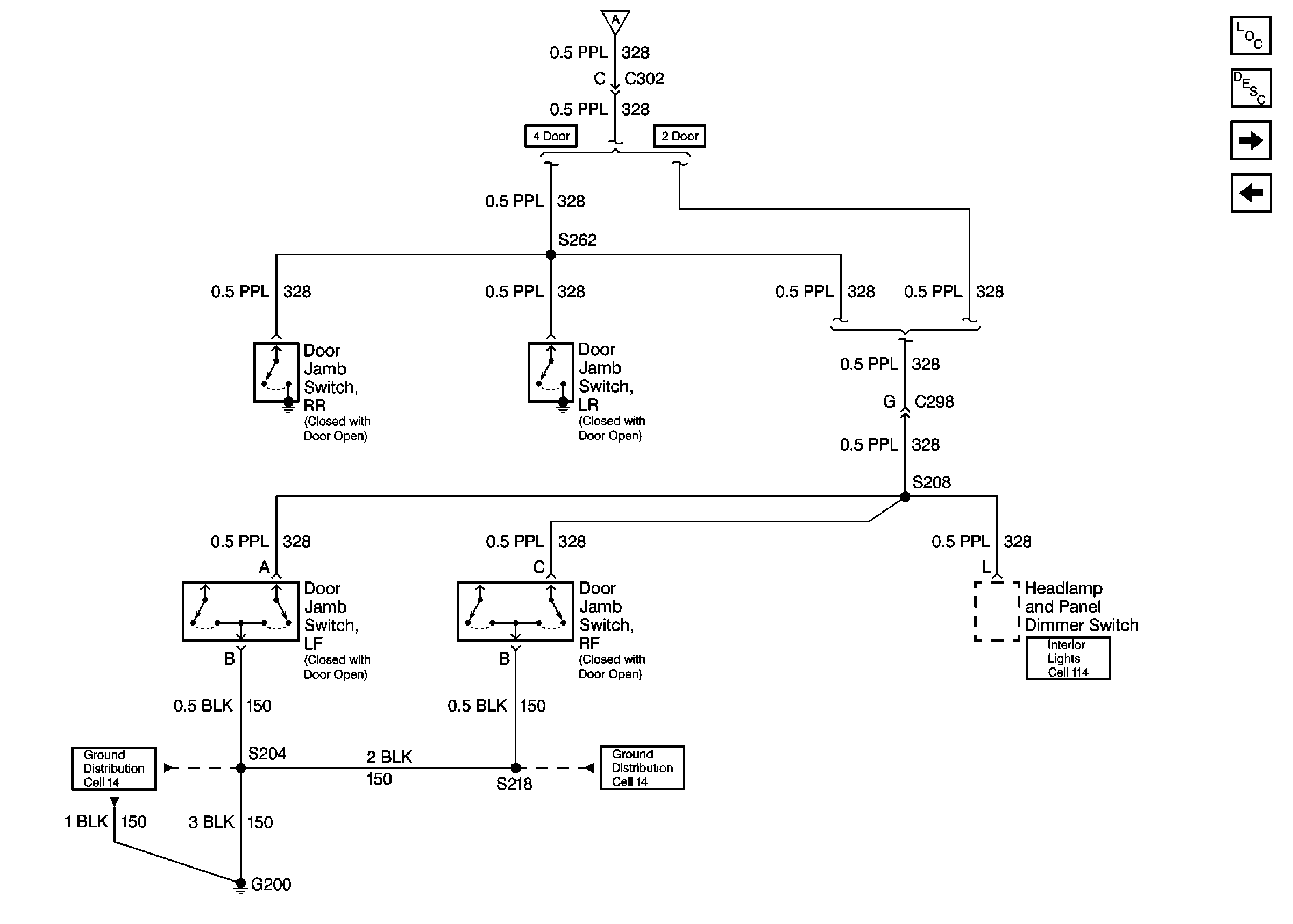
🢒 Cell 130: Door Jamb Switches, G200
Cell 130: Door Jamb Switches, G200
Cell 130: Door Jamb Switches, G200
Power Door Locks Circuit Description Luxury
Cell 130: PWR ACCY Circuit Breaker, Door Lock Relay, Cargo Door Contactors, Door Lock Motors, G202
Cell 14: G200 (1 of 4)
Cell 114: CTSY Fuse 3, Door Jamb Switches
Power Door Systems Components
Cell 130: CIG LTR Fuse, Door Lock Control Module, Rear Door Jamb Switch, Rear Door Lock Switch, G400
Cell 130: PWR ACCY Circuit Breaker, Door Lock Switches, Door Lock Motors,G202 (Pickup/Extended Cab)