GM Service Manual Online
For 1990-2009 cars only
Makes
🢒
Chevrolet
🢒
1998
🢒
Express
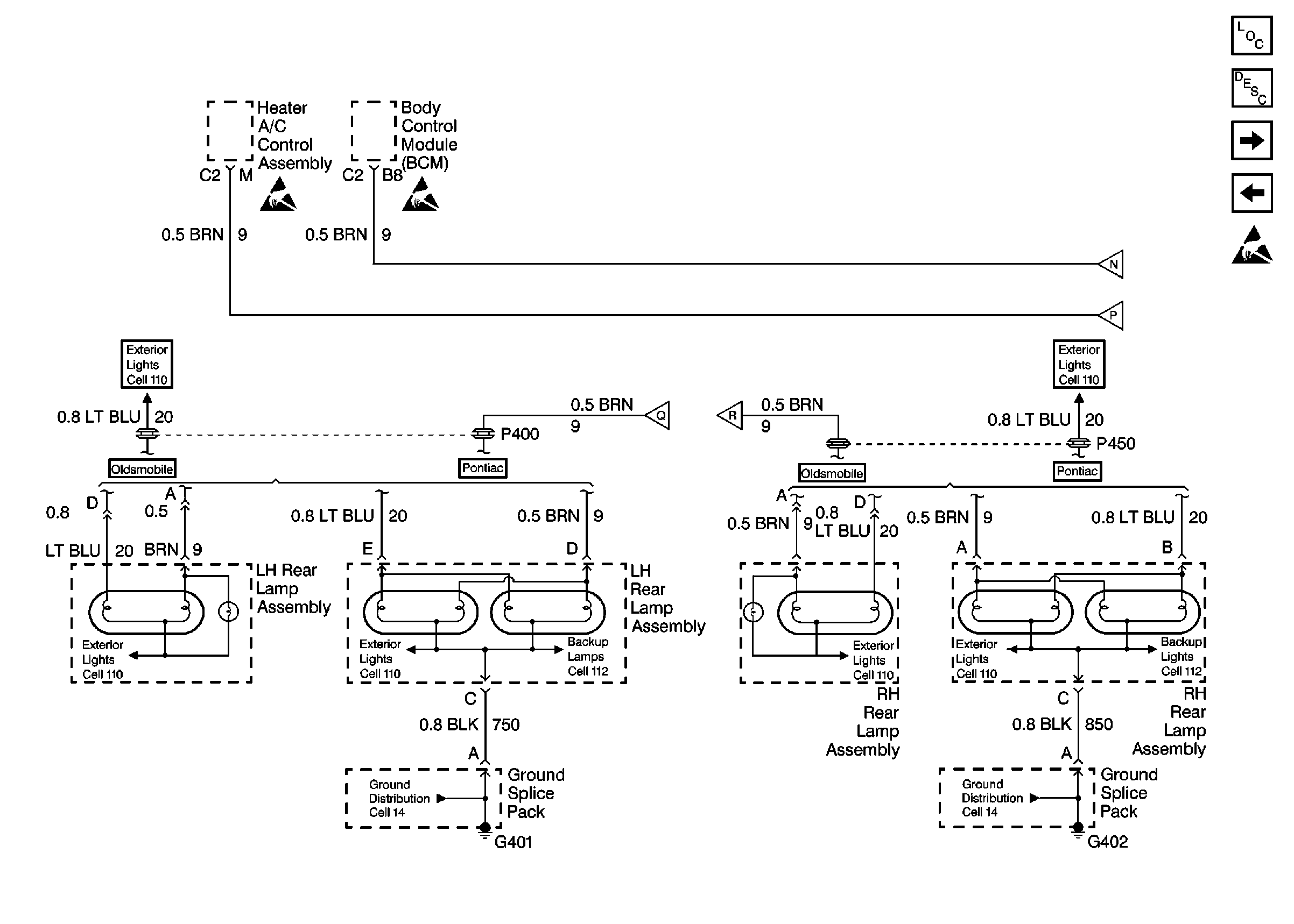
🢒 Cell 110: Tail/Stop Lamps
Cell 110: Tail/Stop Lamps
Cell 110: Tail/Stop Lamps
Lighting Systems Components
Exterior Lights Circuit Description
Left Rear Lamp Assembly
Brake Switch and High Mounted Stop Lamp
Handling Electrostatic Discharge Sensitive Parts Notice
Handling Electrostatic Discharge Sensitive Parts Notice
Handling Electrostatic Discharge Sensitive Parts Notice
Rear Compartment Lid Lamp and License Lamp
Rear Compartment Lid Lamp and License Lamp
Rear Compartment Lid Lamp and License Lamp
Rear Compartment Lid Lamp and License Lamp
Cell 112
Cell 112
Cell 110: Front Park/Turn and Marker Lamps
Left Rear Lamp Assembly
Left Rear Lamp Assembly
Right Rear Lamp Assembly and Hazard Switch
Right Rear Lamp Assembly and Hazard Switch
Ground Distribution Schematics
Ground Distribution Schematics