GM Service Manual Online
For 1990-2009 cars only
Makes
🢒
Chevrolet
🢒
1998
🢒
Express
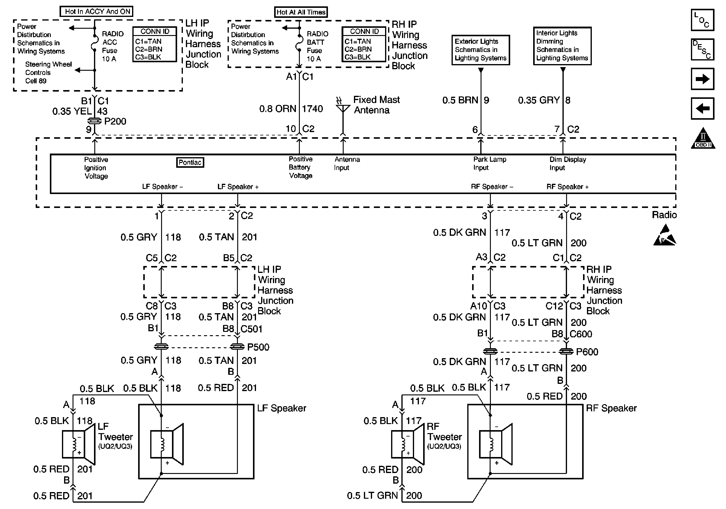
🢒 Cell 150: Pontiac w/Remote Cassette
Cell 150: Pontiac w/Remote Cassette
Power, Front Speakers, and Antenna -- Pontiac
Entertainment Components
Radio/Audio System Description
Cell 150: W/UQ3
Cassette Controls, Ground, and Rear Speakers
Interior Lights Dimming Schematics
Exterior Lights Schematics
Power Distribution Schematics
Power Distribution Schematics
Handling ESD Sensitive Parts Notice