GM Service Manual Online
For 1990-2009 cars only
Makes
🢒
Chevrolet
🢒
2000
🢒
Express
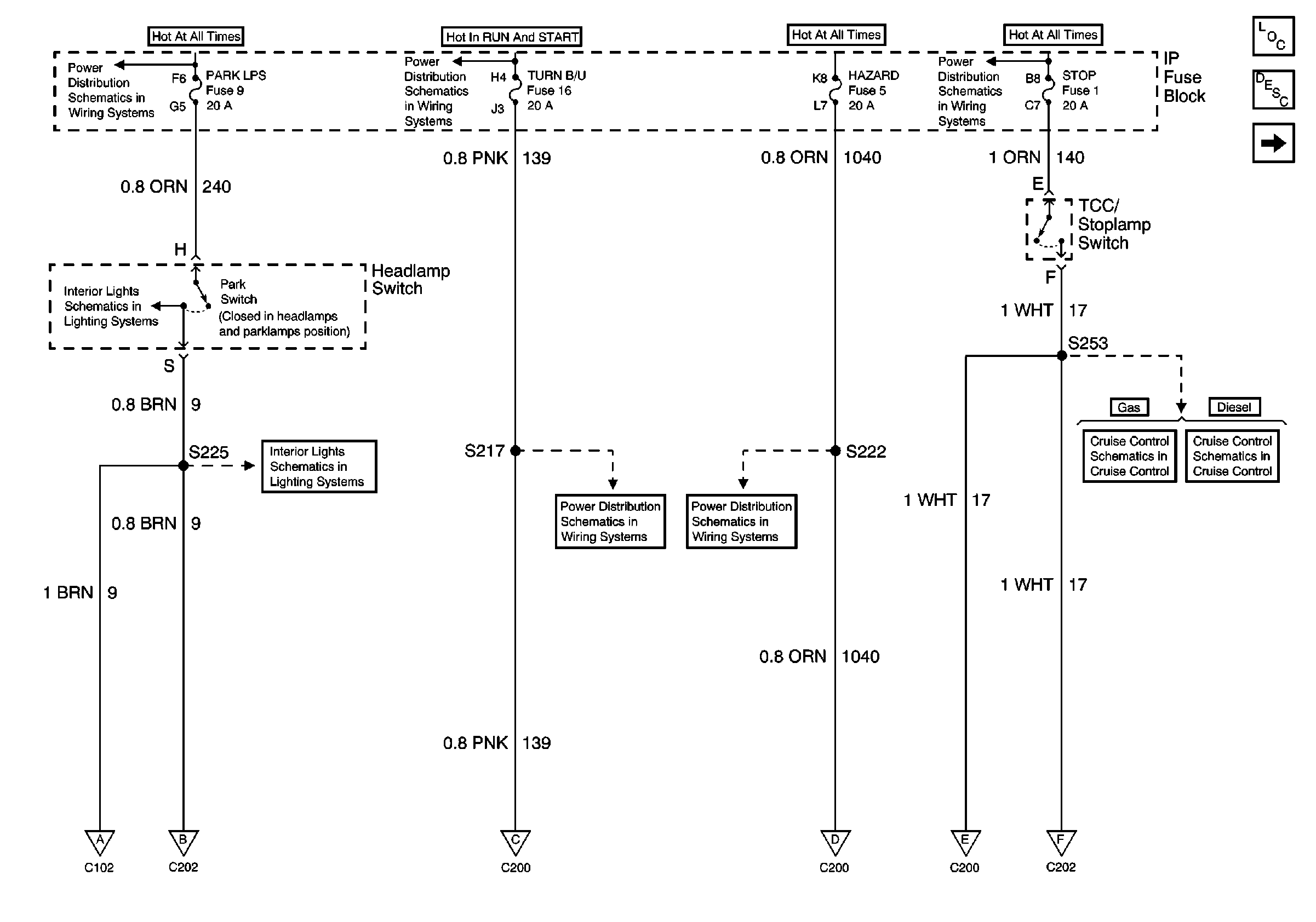
🢒 PARK LPS, TURN B/U, HAZARD, STOP Fuses
PARK LPS, TURN B/U, HAZARD, STOP Fuses
PARK LPS, TURN B/U, HAZARD, STOP Fuses
Lighting Systems Components
Exterior Lights Circuit Description Domestic
Hazard Warning Switch, Turn/Hazard Lamp Flasher
IGN A, IGN B Fuses, and Ignition Switch
PARK LPS, SECURITY STRG, and DRL Fuses
STOP, PWR AUX, CIG LTR, and RADIO B Fuses
Cruise Control System-Gasoline Engines
Cruise Control System-Diesel Engines
PWR ACCY, GAUGES, And PARK LPS Fuses
PWR ACCY, GAUGES, And PARK LPS Fuses
Front Side Marker Lamps, Front Park and Turn Signal Lamps
Taillamps, Rear Park and Turn Signal Lamps, Center High Mounted Stoplamps, License Lamp
CTSY, AIR BAGS, and TURN B/U Fuses
PWR WDO, HTD MIR, RR DEFOG, and HAZARD Fuses
Hazard Warning Switch, Turn/Hazard Lamp Flasher
Hazard Warning Switch, Turn/Hazard Lamp Flasher
Hazard Warning Switch, Turn/Hazard Lamp Flasher
Taillamps, Rear Park and Turn Signal Lamps, Center High Mounted Stoplamps, License Lamp