GM Service Manual Online
For 1990-2009 cars only
Makes
🢒
Chevrolet
🢒
2001
🢒
Express
🢒 Rear Speakers with Upfitter Provisions
Rear Speakers with Upfitter Provisions
Rear Speakers with Upfitter Provisions
Master Electrical Component List
Radio/Audio System Description and Operation Class 2 Radio
Radio Power, Grounding, and DLC - Y91
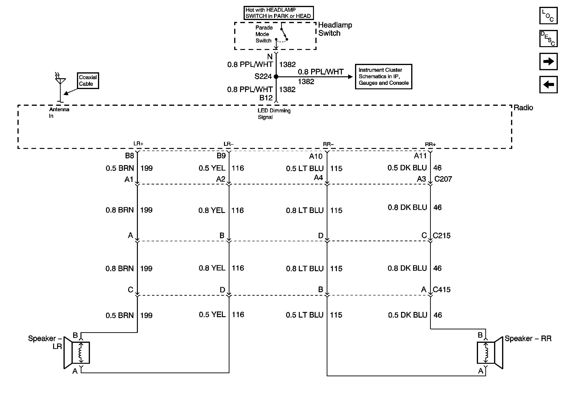
Rear Speakers
Headlamp Switch, Instrument Cluster, Park/Neutral Position Switch