GM Service Manual Online
For 1990-2009 cars only
Makes
🢒
Chevrolet
🢒
2001
🢒
Express
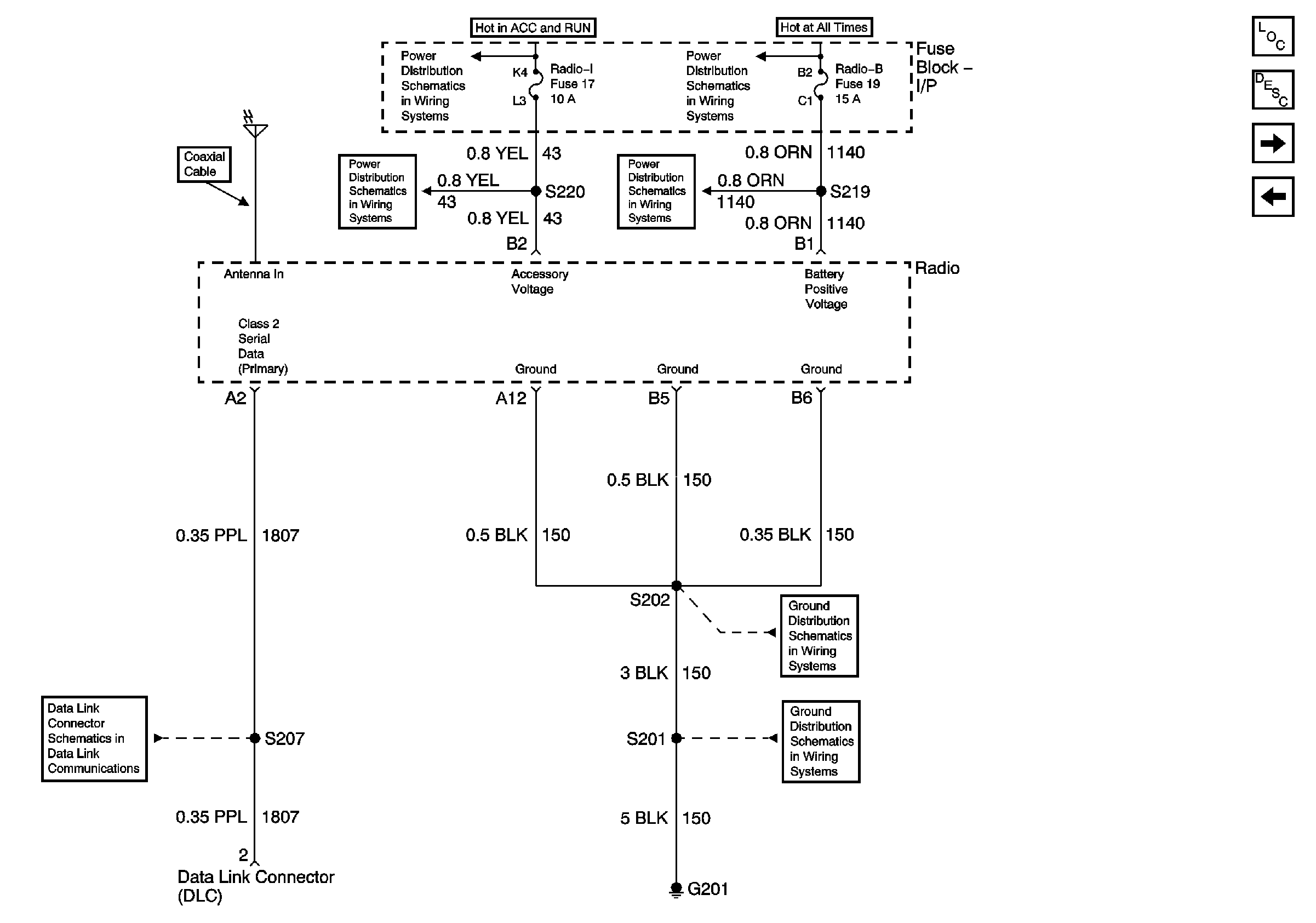
🢒 Radio Power, Grounding, and DLC - Y91
Radio Power, Grounding, and DLC - Y91
Radio Power, Grounding, and DLC with Y91
Master Electrical Component List
Radio/Audio System Description and Operation Class 2 Radio
Amplifier Power and Grounding
Rear Speakers with Upfitter Provisions
Radio 1, Wiper, Transmission, and Crank Fuses
Ignition A, Ignition B Fuses, and Ignition Switch
Stop, Power Auxiliary, Cigar Lighter, and Radio B Fuses
Components through S202 and S205 to G201
G201
Data Link Communications