GM Service Manual Online
For 1990-2009 cars only
Makes
🢒
Chevrolet
🢒
2002
🢒
Express
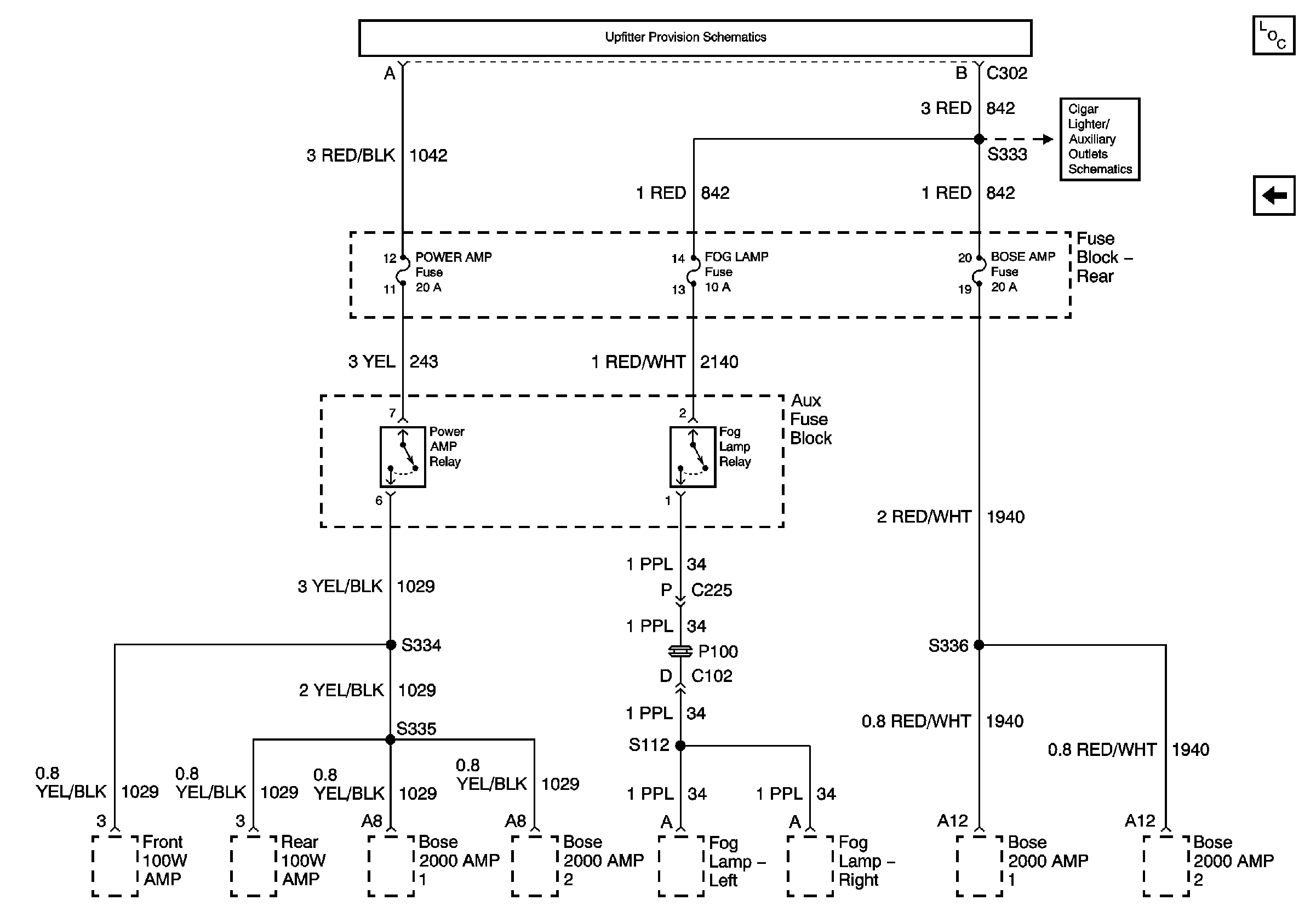
🢒 Power Amp, Fog Lamp, and Bose Amp Fuses
Power Amp, Fog Lamp, and Bose Amp Fuses
Power Amp, Fog Lamp, and Bose Amp Fuses
Master Electrical Component List
RSA-T Fuse
Upfitter Provision Schematics
Cigar Lighter/Accessory Power Outlets